Quick start Guide
Table Of Contents
- IMPORTANT SAFETY INSTRUCTIONS
- System Overview
- Furnished Accessories
- Optional Accessories
- Quick Start for Single Receiver
- Receiver Controls and Connectors
- Transmitters
- Batteries and Charging
- LED Status During Charging
- Installing Transmitter Batteries
- Charging Times and Transmitter Runtimes
- Important Tips for Care and Storage of Shure Rechargeable Batteries
- 2.4 GHz Spectrum Overview
- Tips to Improve Wireless System Performance
- Remote Antenna Placement
- Multiple Receiver Systems
- Manually Linking a Transmitter to a Receiver
- Combo Systems
- Operation
- Firmware
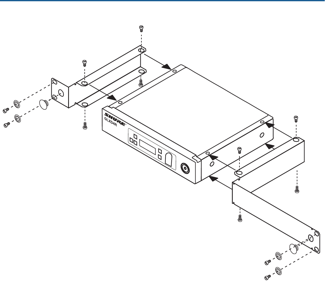
- Rack-Mounting Instructions
- Troubleshooting
- Resetting Components
- Specifications
- Certifications











