Datasheet

ESG 2.4
Multifunctional time delay relay
MFT SU22S, MFT SU22P
E - Delay on
When the supply voltage U (K1 closed) is applied, the set
interval t begins (green LED U/t flashes). After the interval t
has expired (green LED U/t illuminated) the output relay
switches into on-position (yellow LED illuminated). This
status remains until the supply voltage U (K1 opened) is
interrupted. If the supply voltage U is interrupted before
expiry of the interval t, the interval already expired is erased
and is restarted when the supply voltage U (K1 closed) is
next applied.
E - Delay on - version with control contact as ope-
ning contact
The supply voltage U must be constantly applied to the
device (green LED U/t illuminated). When the control
contact K2 is opened, the set interval t begins (green LED U/
t flashes). After the interval t has expired the output relay
switches into on-position (yellow LED illuminated). If the
control contact K2 is closed before the interval t has expired,
the interval already expired is erased and is restarted with
the next cycle.
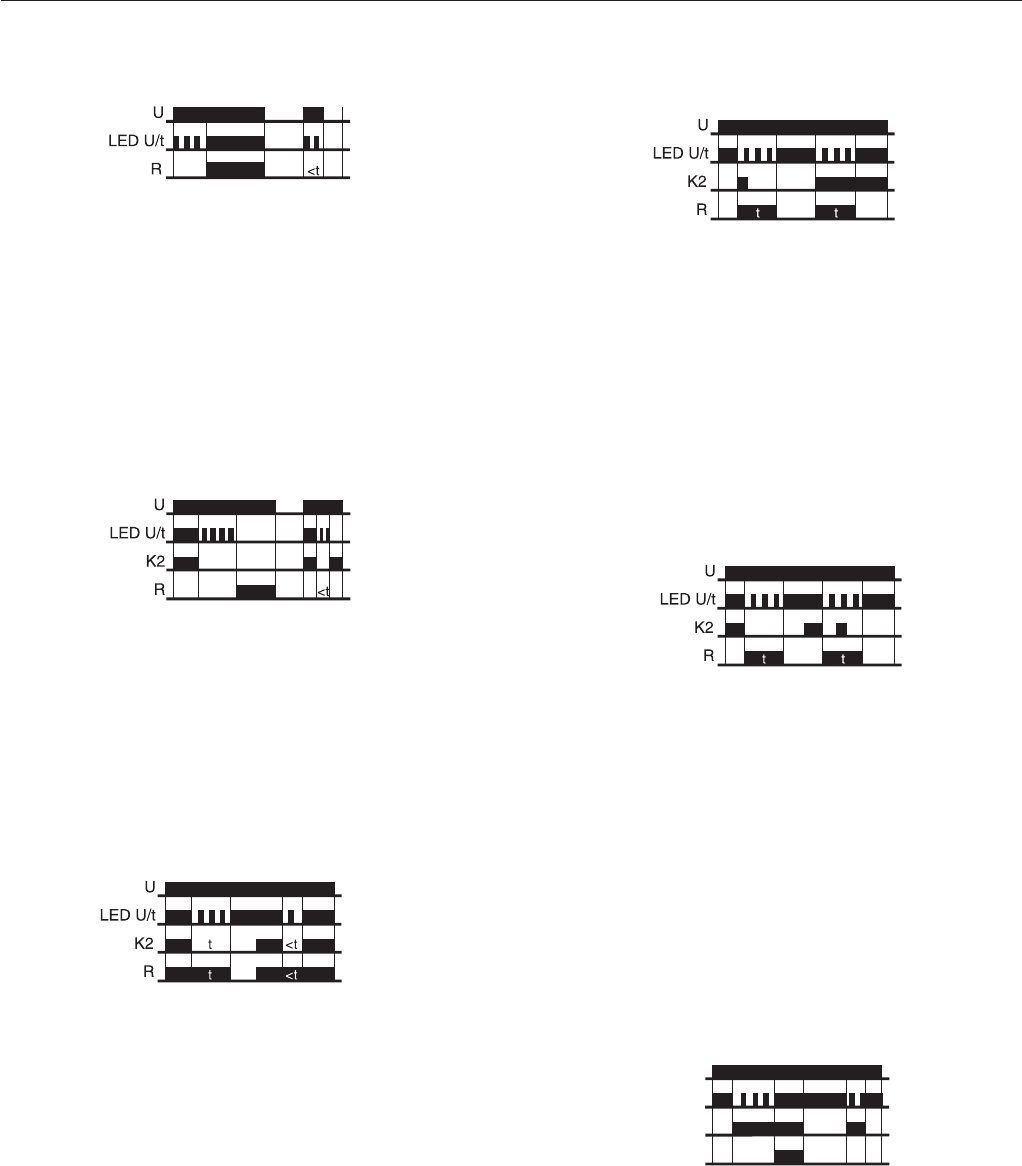
A - Delay off
The supply voltage U (K1 closed or permanently connected)
must be constantly applied to the device (green LED U/t
illuminated). When the control contact K2 is closed, the
output relay R switches into on-position (yellow LED illumi-
nated). If the control contact K2 is opened, the set interval t
begins (green LED U/t flashes). After the interval t has
expired (green LED U/t illuminated) the output relay
switches into off-position (yellow LED not illuminated). If the
control contact K2 is closed again before the interval t
(green LED U/t illuminated) has expired, the interval
already expired is erased and is restarted with the next cycle.
I2 - Pulse extension with control contact
The supply voltage U (K1 closed or permanently connected)
must be constantly applied to the device (green LED U/t
illuminated). When the control contact K2 is closed, the
output relay R switches into on-position (yellow LED illumi-
nated) and the set interval t begins (green LED U/t flashes).
After the interval t has expired (green LED U/t illuminated)
the output relay switches into off-position (yellow LED not
illuminated). During the interval, the control contact K2 can
be operated any number of times. A further cycle can only
be started when the cycle run has been completed.
W2 - Wiping on trailing edge
The supply voltage U (K1 closed or permanently connected)
must be constantly applied to the device (green LED U/t
illuminated). Closing the control contact K2 has no influence
on the condition of the output relay R. When the control
contact K2 is opened, the output relay switches into on-
position (yellow LED illuminated) and the set interval t
begins (green LED U/t flashes). After the interval t has
expired (green LED U/t illuminated), the output relay
switches into off-position (yellow LED not illuminated).
During the interval, the control contact K2 can be operated
any number of times. A further cycle can only be started
when a cycle run has been completed.
E1 - Delay on with control contact
The supply voltage U (K1 closed or permanently connected)
must be constantly applied to the device (green LED U/t
illuminated). When the control contact K2 is closed, the set
interval t begins (green U/tLED flashes). After the interval t has
expired (green LED U/t illuminated) the output relay R switches
into on-position (yellow LED illuminated). This status remains
until the control contact K2 is opened. If the control contact K2
is opened before the interval t has expired, the interval already
expired is erased and is restarted with the next cycle.
<t
U
LED U/t
K2
R
t
Function descriptions




