User Manual

PN# 500-11900
Page 2 Rev. C, 07/11
Above we've discussed a reason for sliding the guide towards and away from the door. For
vertical mounting, the guide must be slid parallel to the door to move the top of the strike a
little farther away from the top of the magnet. The guide sets this spacing at 1/10" (2.5MM)
which is appropriate for a horizontal mount. This spacing insures that the top of the strike will
not scrape against the door frame header. If the magnet is to be mounted vertically as shown in
Figure 1, the guide must be slid away 1/10" (2.5MM) parallel to the door so that the strike top
will now be 2/10" (5MM) away from the top of the magnet. The reason for this is that with a
vertical mount, the door closes on an arc and since the strike stands out from the door, it will
scrape against the frame stop unless this extra separation is achieved.
2.2 DRILLING THE HOLES
When drilling the holes it is important to realize that the only critical holes are the magnet
mounting holes. The strike mounting holes include two roll pins that fit very loosely in their
holes. Therefore be most careful when you are drilling the magnet mounting holes (two in the
case of the model 32; four in the case of the model 62).
If no sliding of the guide is necessary as described above, all of the holes may be drilled at once.
A 1/8" drill bit (furnished) is needed and an excellent technique is to begin with the central strike
mounting screw hole which should be drilled completely through the door. Then place a second
1/8" drill bit (or rod) into this hole to stabilize the guide for the drilling of the other holes. All
other holes do not go through the door but should be drilled to a depth of roughly 1 1/4"
(32MM).
If the guide must be slid, only one of its surfaces will be against the door/frame at a time.
Therefore the drilling of the strike and magnet mounting holes must be split into two different
operations. The guide is slid and the holes are drilled for the repositioned magnet or strike. It is
then slid back to drill the holes for the remaining component.
Once the 1/8" pilot holes are drilled, they should be enlarged to 3/8" or 1/2" depending on the
hole type. Drill bits of these two sizes are furnished and the paper template delivered with the
Magnalock shows the required hole sizes. For best accuracy on the critical magnet mounting
holes, use an intermediate 5/16" drilling step.
Note that the furnished drill bits are of different types which have been selected for optimum
performance. Understanding the drill bit types is helpful when they require replacement. The
gold colored 1/8” and 3/8” bits are cobalt which is a strong and long lasting drill bit type
particularly good in steel and aluminum. A second 3/8” bit is gray in color and is carbide for
drilling into concrete filled headers. The 1/2” bit is a high speed steel bit which is less durable
but it is extra long so it is easy to keep straight when you drill through the door. The 1/2” drill is
used only for one hole and is not readily available in cobalt with the extra length.
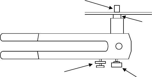
3. BLIND NUT COLLAPSING TOOL
The second important tool in the kit
is the blind nut collapsing tool (see
drawing to the right). This tool
allows faster installation of the blind
nuts than does the small tool
furnished with each Magnalock. To
use this tool, first free the handles
by removing the bent metal wrench
that holds them together. The
wrench is used for replacing the
threaded stud which carries the
blind nut and as Magnalocks only
use one thread pitch, the wrench is
not needed. Note however that the
stop ring does unscrew for removal (this is part of the procedure of changing the threaded stud).
It can easily become loose. You turn it counterclockwise to tighten it and clockwise to remove it.
Next note that the stroke limit thumb turn and connecting shaft is present to stop the handles
from coming too close when you squeeze the tool and therefore injuring your fingers. It
requires no adjustment. Make sure that the handles open and close easily and then thread a
BLIND NUT THUMB TURN
STROKE LIMIT THUMB TURN
FRAME
BLIND NUT
STOP RING



