User Manual
Manuals
Brands
SATEC Manuals
Equipment
EM132-133 Manual
31
32
33
34
35
36
37
38
39
40
Chapter 2
Installation
38
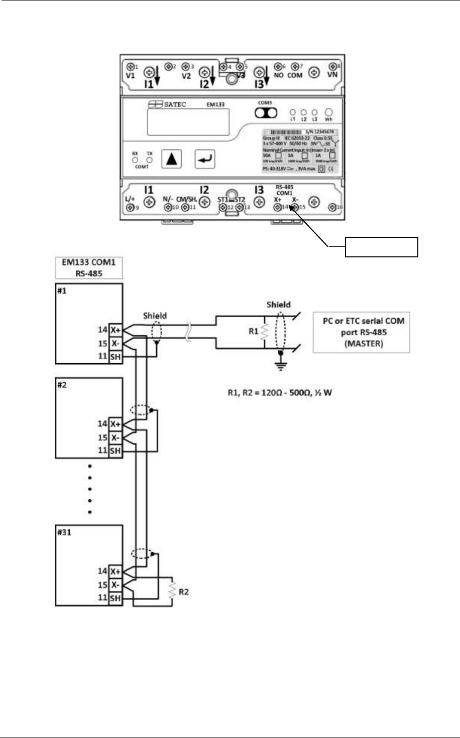
EM13x Series SMART MULTIFUNCTION METER
C
O
M
1
R
S
-
4
8
5
C
o
n
n
e
c
t
i
o
n
F
i
g
u
r
e
2
-
32
C
O
M
1
R
S
-
4
8
5
2
-
W
i
r
e
C
o
n
n
e
c
t
i
o
n
RS
-485 COM1
1
...
...
36
37
38
39
40
...
...
152