Operation Manual

8
6901-210079
3
[K]
[K]
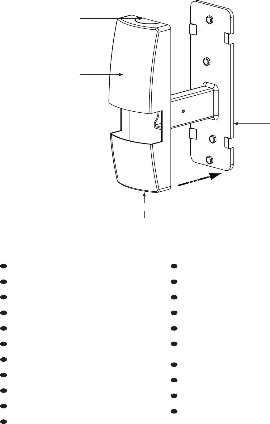
Break out the appropriate Knock Out [K] on the Cover [02] to route cables
and wires out the top or bottom of the unit.
Quitar la pieza desmontable [K] adecuada de la cubierta [02] para dirigir
los cables e hilos desde la parte superior o inferior del aparato.
Das entsprechende Auspressteil [K] an der Abdeckung [02] herausbrechen,
um Kabel und Leiter oben oder unten an der Einheit herauszuführen.
Brisez la rondelle défonçable [K] appropriée sur le couvercle [02] afin de
diriger les câbles et les fils par le dessus ou le dessous de l’ensemble.
Rompere l’opportuno Foro d’Uscita [K] presente sul Coperchietto [0] per far
passare cavi e fili da sopra o da sotto l’unità.
Remova a parte apropriada dos Lados Retiráveis [K] na Tampa [02] para
encaminhar os cabos e fios pelo lado de baixo ou de cima da unidade.
Verwijder het betreffende uitbreekplaatje [K] uit de behuizing [02] om de
kabels en draden aan de onder- of bovenkant uit de unit te leiden.
Kablo ve telleri birimin üst veya altındaki delikten geçirmek için Kapak [02]
üzerindeki uygun Delik Muhafazasını [K] çıkarın.
Σπάστε την αντίστοιχη αναμονή περάσματος [K] επάνω στο κάλυμμα [02]
για να περάσετε τα καλώδια από το άνω ή κάτω άκρο της μονάδας.
Чтобы проложить провода и кабели из верхней или нижней части
блока, извлеките соответствующую часть [K] из крышки [02].
Bryd den dertil egnede knockout [K] ud fra dækslet [02], så ledninger og
wirer kan føres ud af bunden eller toppen af enheden.
EN
ES
DE
FR
IT
PT
NL
TR
EL
RU
DA
FI
SV
NO
PL
HU
RO
CS
SL
HR
SK
Murra jompikumpi kannen [02] aukko [K] auki ja vie johdot ylä- tai alakautta
telineen ulkopuolelle.
Bryt bort önskad del [K] på skyddet [02] för att föra igenom kablar och
sladdar från ovan- eller undersidan av enheten.
Bryt av den nødvendige biten [K] på dekselet [02] for å føre kabler og
ledninger ut av toppen eller bunnen av holderen.
Aby wyprowadzić okablowanie górą lub dołem urządzenia, należy wyłamać
odpowiednią zaślepkę [K] w pokrywie [02].
A kábeleknek és vezetékeknek az egység alján vagy tetején történő
elvezetéséhez a Burkolaton [02] törje ki a kívánt Kitörhető Lyukakat [K].
Îndepărtaţi plăcuţa corespunzătoare [K] de pe învelitoare [02] pentru a
ghida cablurile şi firele electrice pe la partea superioară sau inferioară a
suportului.
Na krytu [02] vylomte příslušnou plošku [K], abyste mohli vyvést kabely
horní nebo spodní částí jednotky.
Odstranite odstranljive čepe [K] na pokrovu [02] in napeljite kable in žice
skozi zgornji ali spodnji del enote.
Izbijte odgovarajući pripremljeni otvor [K] na poklopcu [02] kako biste
provukli kablove i žice kroz gornji ili donji dio jedinice.
Vylomte príslušnú záklopku [K] na kryte [02], aby ste cez otvor mohli viesť
káble zospodu alebo zvrchu držiaka.
[01]
[02]










