International Flat Panel Television User's Manual
Table Of Contents
- THREE YEAR LIMITED WARRANTY
- Safety Precautions
- 1. Introduction
- 2. Controls and Functions
- 3. Installation
- 3.1 Remote Control
- 3.2 Quick Setup
- 3.3 Installation Considerations
- 3.4 Connections to the PlasmaWall and DHD Controller
- 4. Operation
- 4.1 Turning on the Power
- 4.2 Selecting the Input Source
- 4.3 Setting the Computer Display Properties
- 4.4 Using the On-Screen Menus
- 5. Maintenance and Troubleshooting
- 6. Serial Communications
- 7. Specifications
- Appendix A. PlasmaWall Service Remote Control

Controls and Functions
10 PlasmaWall SP Series Owner’s Operating Manual
PRE
L
IMINAR
Y
2.2
DHD Controller Front
Panel
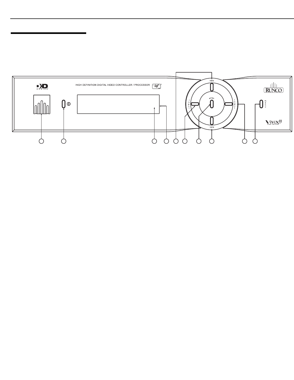
Figure 2-5 shows the controls and indicators on the DHD Controller front panel; the
paragraphs that follow describe them.
Figure 2-5. DHD Controller Front Panel
1. RUNCO ICON
Lights red to indicate that the DHD Controller is in standby mode; lights blue to
indicate that the unit is on.
2. POWER BUTTON
Press once to toggle from standby mode to on mode. Press it again to return to
standby mode. For a discrete on or off command, you can use the direct access
buttons on the remote control.
3. IR SENSOR
Receives IR commands from the remote.
4. VACUUM FLUORESCENT DISPLAY
Can be used instead of the On-Screen Display (OSD). Displays currently-selected
menu or – if no menu is selected – the current source, signal format (NTSC or PAL),
input resolution and aspect ratio.
2
3
1
45
6
7
8
9
10










