International Flat Panel Television User's Manual
Table Of Contents
- THREE YEAR LIMITED WARRANTY
- Safety Precautions
- 1. Introduction
- 2. Controls and Functions
- 3. Installation
- 3.1 Remote Control
- 3.2 Quick Setup
- 3.3 Installation Considerations
- 3.4 Connections to the PlasmaWall and DHD Controller
- 4. Operation
- 4.1 Turning on the Power
- 4.2 Selecting the Input Source
- 4.3 Setting the Computer Display Properties
- 4.4 Using the On-Screen Menus
- 5. Maintenance and Troubleshooting
- 6. Serial Communications
- 7. Specifications
- Appendix A. PlasmaWall Service Remote Control

PlasmaWall SP Series Owner’s Operating Manual 5
PRE
L
IMINAR
Y
2.1
PlasmaWall at a
Glance
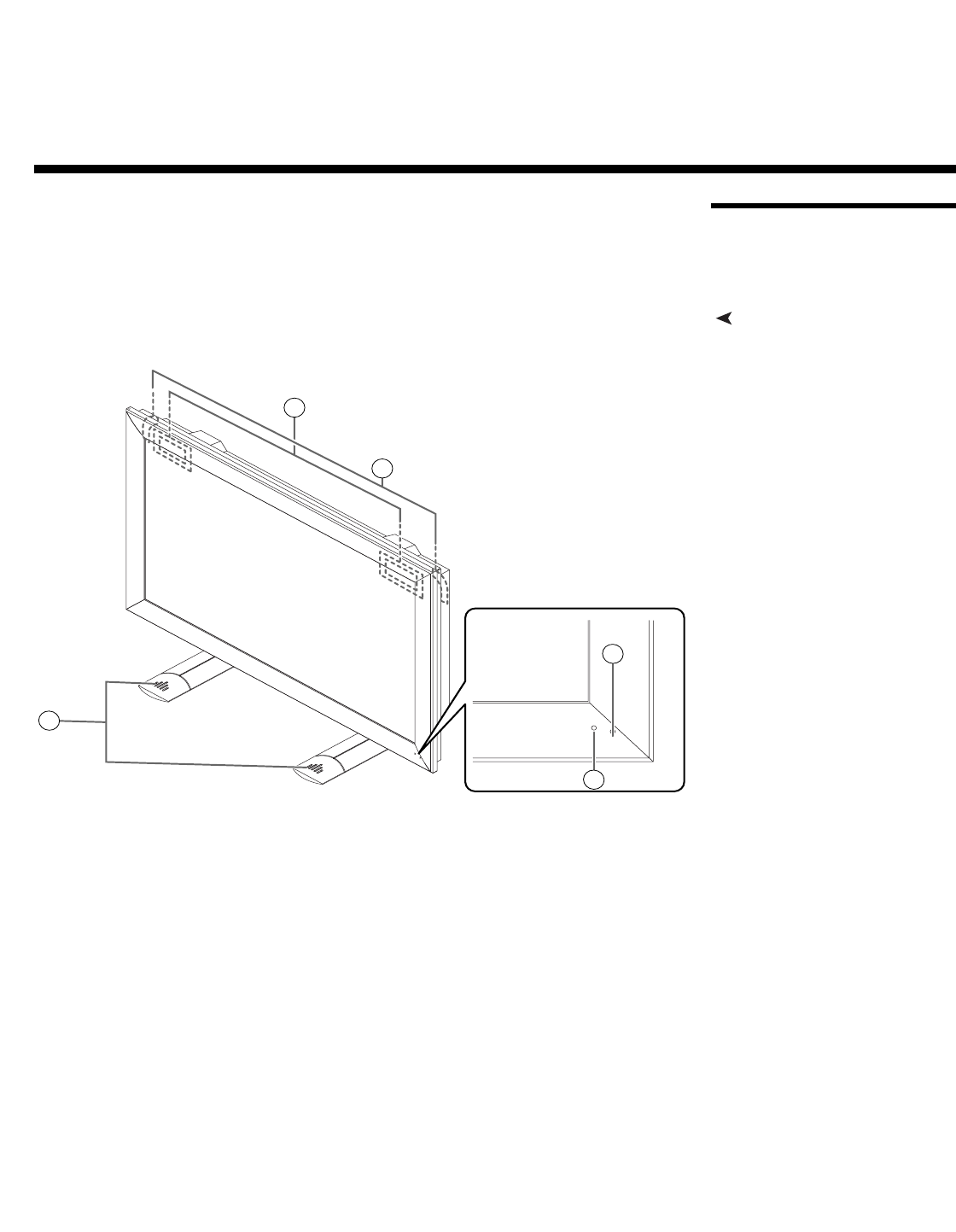
Controls and IndicatorsFigure 2-1 shows the PlasmaWall front-panel controls and indicators.
Figure 2-1. PlasmaWall Front-Panel Controls and Indicators
1. DISPLAY STAND
Optional accessory for tabletop installations.
2. REMOTE CONTROL SENSOR
Receives the signals from the remote control.
3. STANDBY/ON INDICATOR
- Lights green to indicate normal operation;
- Lights red to indicate that the PlasmaWall is in standby mode;
- Flashes green or red (twice per second) to indicate an error condition.
4. HANDLES
ALWAYS use the handles when carrying the unit.
2. Controls and Functions
1
3
2
4
4
(SP-60DHD)
(SP-42DHD/SP-50DHD)










