User manual

14
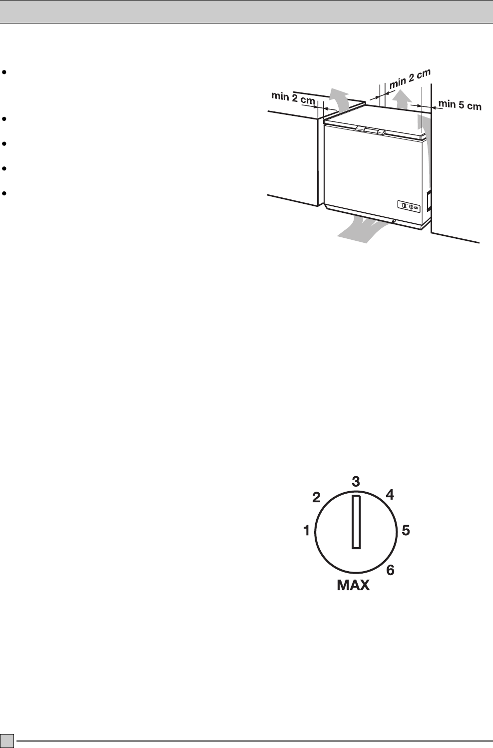
ASENNUS
SIJOITUS
Pakastin on sijoitettava vaakasuoraan lujalle
alustalle, neljän muovisen tukijalan varaan.
Mahdolliset lattian epätasaisuudet korjataan esim.
pienen puupalikan avulla.
Pakastin on sijoitettava kuivaan tilaan, jonka
ilmanvaihto on sopivan tehokas.
Pakastimen normaalin toiminnan takaamiseksi
huoneen lämpötilan tulisi olla 16°C - 32°C.
Pakastinta ei saa sijoittaa suoraan auringonvaloon
eikä lähelle lämpöä säteileviä laitteita.
Jos laitetta on kuljetettu kyljellään, sen on annettava
seistä normaalissa asennossa noin puolen
vuorokauden ajan ennen käynnistämistä.
VERKKOLIITÄNTÄ
Laite kytketään pistorasiaan jota suojaa 10 A sulake.
Sähköverkon jännitteen tulee olla 230-240 V, 50 Hz.
Kytkennässä on noudatettava paikallisia sähköalan
voimassaolevia määräyksiä.
KÄYNNISTYS
Pakastin on puhdistettava sisäpuolelta ennen
käynnistystä. Katso kohtaa Hoito ja kunnossapito.
Lämpötilanvalitsin säädetään keskiasentoon.
Pakastimen annetaan toimia muutama tunti ennen kuin
siihen laitetaan pakasteita.










