User manual

Keittolevyt
12
Turvatoiminnot
Liesilukko
Uunin lämpötilanvalitsimeen on asennettu salpa ja siinä
on kaksi toimintoa. Halutessasi kytkeä liesilukon toim-
intaan, valitse tarpeen mukaan yksinkertainen tai kak-
soistoiminto.
HUOM! Lieden päävirransyöttö ei katkea.
YKSINKERTAINEN TOIMINTO: Lieden levyiltä ja uunin
käytöltä on katkaistu virta, kun uunin lämpötilan
valitsin on käännetty off- asentoon.
KAKSOISTOIMINTO: Kun salpa on toiminnassa, virtalukon
avaamiseen tarvitaan kahden käden otetta. Silloin las-
ten on vielä vaikeampi ”käyttää” liettä.
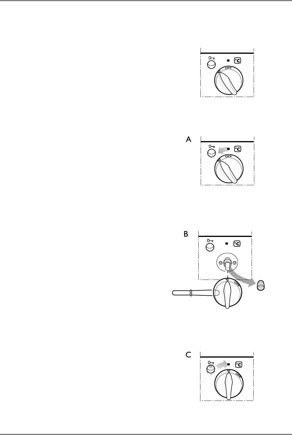
Yksinkertainen toiminto
Lukitse liesi näin (KATSO KUVA A): Käännä termostaatin
väännin vastapäivään
OFF-asentoon.
Tee näin, kun haluat käyttää liettä:
1
Käännä väännin myötäpäivään nolla-asentoon
(ts. kunnes väännin osoittaa kohtisuoraan klo
12.00).
2 Liettä voi nyt käyttää normaalisti. Varmista, että
vain käyttämäsi toiminnot on valittuna. (Joku on
saattanut käännellä vääntimiä virtalukon ollessa
suljettu.)
Kaksoistoiminto
Salpa pitää asettaa toimintaan, ennen kuin voit käyttää
tätä toimintoa (
KATSO KUVA B):
1 Varmista, että uunin lämpötilan valitsin on
”nolla-asennossa” ts. väännin osoittaa kohtisuo-
raan klo 12.
2 Työnnä pöytäveitsi vääntimen taakse ja irrota
väännin kevyesti vipuamalla.
3 Poista punainen holkki.
4 Asenna väännin takaisin ”nolla-asennossa”
Jatkossa voit lukita lieden vain kääntämällä
termosstaatin väännin vastapäivään
OFF-asentoon
(KATSO KUVA A).
TEE NÄIN, KUN HALUAT KÄYTTÄÄ LIETTÄ
(KATSO KUVA C):
1 Työnnä salpaa vasemmalle ja
2 käännä väännintä myötäpäivään nolla-asentoon
(ts. kunnes väännin osoittaa kohtisuoraan klo
12.00).
3 Liettä voi nyt käyttää normaalisti. Varmista, että
vain käyttämäsi toiminnot on valittuna. (Joku on
saattanut käännellä vääntimiä virtalukon ollessa
suljettu.)










