Manual

DualAxis Operation
Chapter 19
19-2
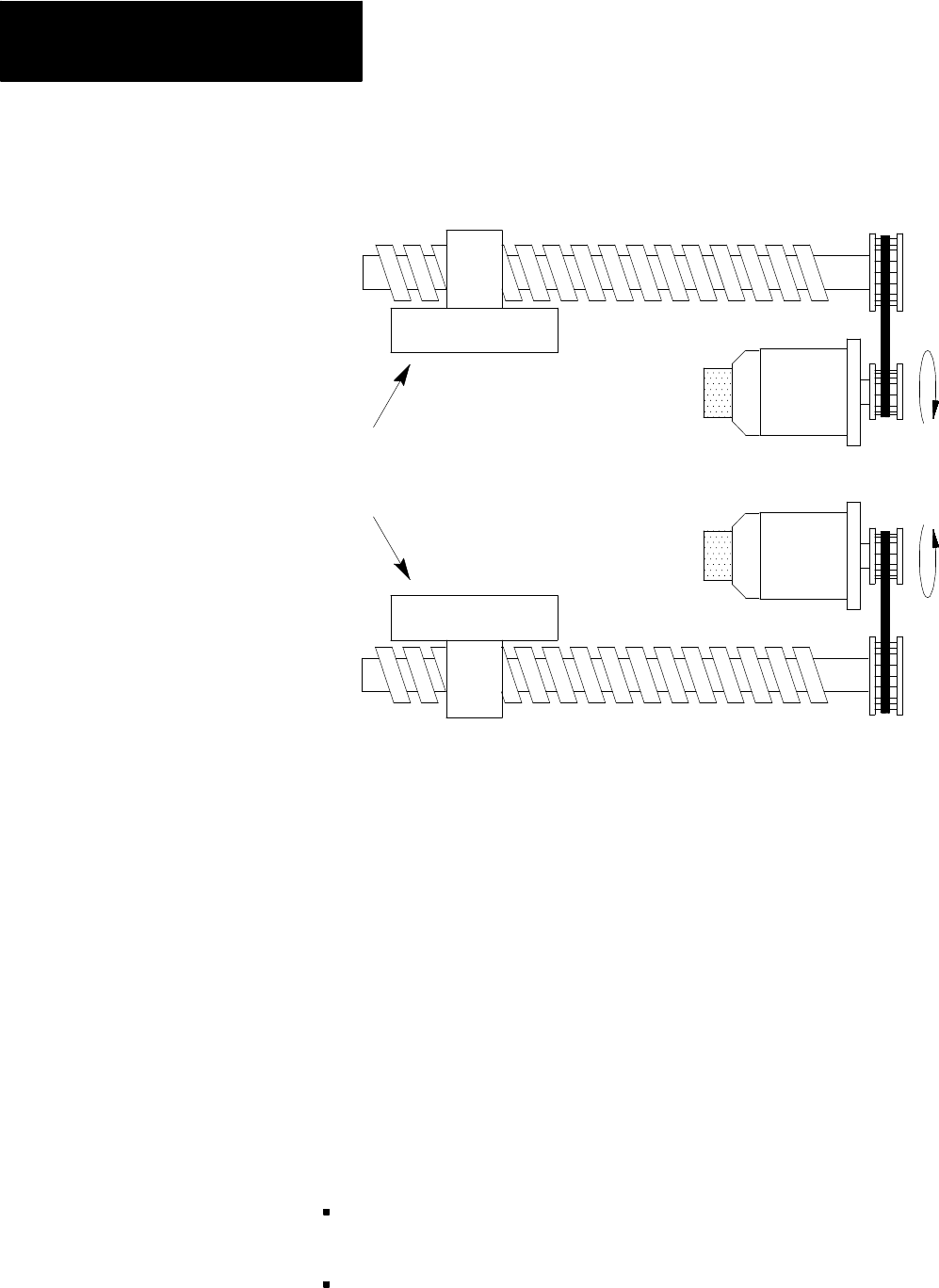
Figure 19.1
Dual Axis Configuration
Axis 1
Lead screw
Servo
motor
Axis 2
Lead screw
Servo
motor
Encoder
Dual Axes- two completely
separate axes responding to
the same programming
commands.
Encoder
The 9/Series control can support two dual axis groups. A dual axis group
consists of two or more axes coupled through AMP and commanded by a
master axis name. The master axis name is used by the part programmer
or operator when commanding the dual axis group in part programs or for
jog moves.
Each axis that makes up a dual group is controlled by a separate
positioning command from the servo module. This dual group command
is based on the move generated by the control when the master axis is
commanded to a position.
All axes that make up a dual group reach end-points at the same time. This
requires that all axes that make up a dual axis group share the same
feedrate parameters, acc/dec ramps, and other axes specific data for the
group.
This section requires that you understand these terms:
Master Axis -- A master axis is the name used to command the axes in a
dual group.
Dual Group -- A dual group is a set of axes that are coupled together in
AMP and commanded by a single master axis name.