Manual

CENTERLINE® Motor Control Centers Joining and Splicing Vertical Sections 13
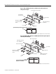
Figure 11 Offset “Z” 600 - 1200 Amp Bus Splicing Detail and Configuration Example
Splice Kit Configuration Example (Top View - 3 Sections)
Refer to Table A for bus size and thickness.
Figure 12 Offset “Z” 1600 - 3000 Amp Bus Splicing Detail and Configuration
Example
Splice Kit Configuration Example (Top View - 3 Sections)
Refer to Table A for bus size and thickness.
Publication 2100-IN010D-EN-P—February 2007