User's Manual

Riverstone Networks RS Switch Router User Guide Release 8.0 17-3
MPLS Configuration MPLS Architecture Overview
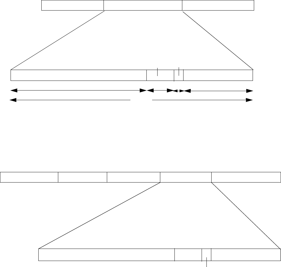
Figure 17-2 Encoding of an MPLS label
A series of two or more MPLS labels, or a label stack, can be encoded after the data link and before the network layer
header. The top label in the label stack appears earliest in the packet and the bottom label appears last, as shown in
Figure 17-3. The network layer header immediately follows the label that has the bottom of stack bit set.
Figure 17-3 MPLS label stack
Forwarding decisions are always based on the top label in the stack. By examining the top label of an incoming packet,
each LSR in the LSP determines the following:
•
The next hop for the packet
•
The operation to be performed on the packet’s label stack. It can be one of the following:
-
replace (swap) the label at the top of the label stack with a new label
-
remove (pop) the top label in the label stack
20 bits
3 bits 1 bit
8 bits
Label
Time to Live
E
x
pe
rimental
Bott
om
of S
t
ac
k
32 bits
Link Layer Header
Network Layer Header
MPLS Label
Label
Link Layer Header
Network Layer Header
Bottom Label
Top Label Label
Bottom of Stack Bit Set
1










