Specifications

CESSNA SECTION 9 - SUPPLEMENTS
MODEL 172R NAV III SUPPLEMENT 1
GFC 700 AFCS
U.S.
FAA APPROVED
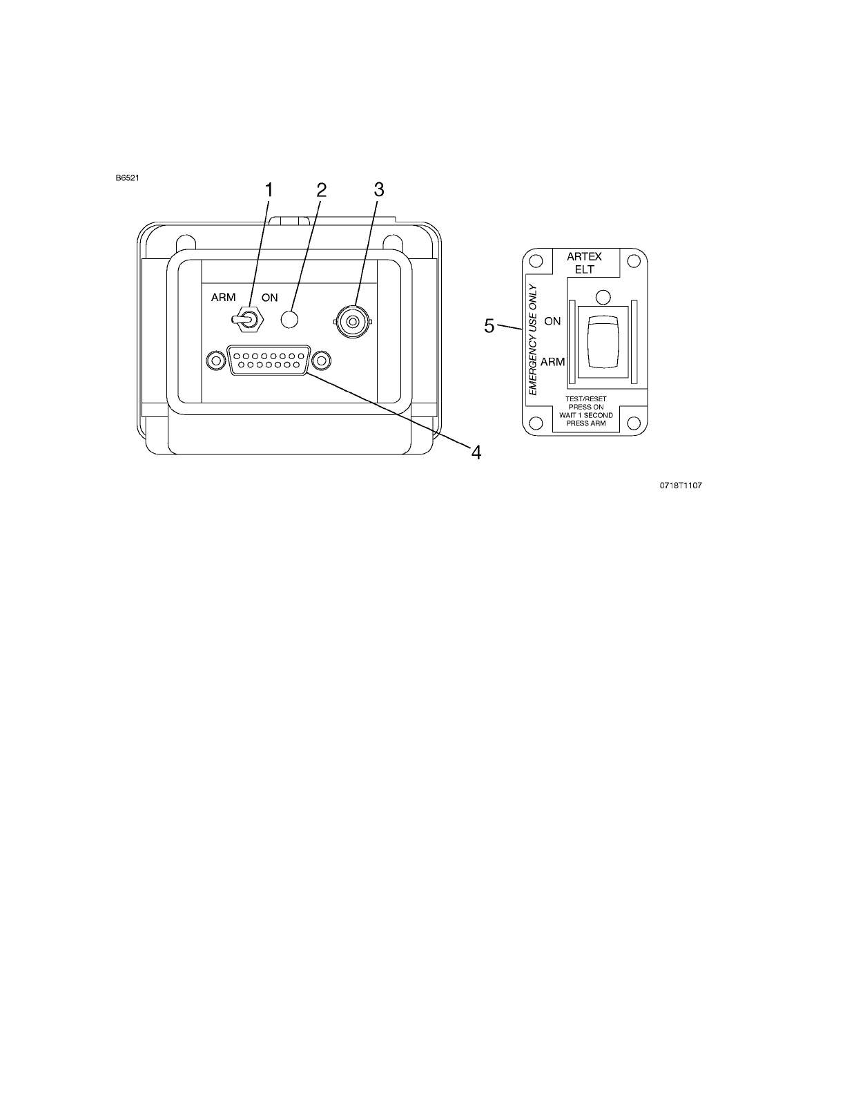
ARTEX ME406 ELT CONTROL PANEL
1. ELT PANEL SWITCH (2-Position Toggle Switch):
a. ARM (OFF) - Turns OFF and ARMS transmitter for
automatic activation if āGā switch senses a predetermined
deceleration level.
b. ON - Activates transmitter instantly. The ON position
bypasses the automatic activation switch. The RED
warning light on ELT panel and on the remote switch
assembly mounted on the instrument panel should come
on.
2. TRANSMITTER WARNING LIGHT - Light comes on RED to
indicate the transmitter is transmitting a distress signal.
3. ANTENNA RECEPTACLE - Connects to the antenna mounted
on top of tailcone.
4. REMOTE CABLE JACK - Connects to the ELT remote switch
assembly located on the upper right instrument panel.
5. REMOTE SWITCH ASSEMBLY - (2-Position Rocker Switch):
a. ARM (OFF) - Turns OFF and ARMS transmitter for
automatic activation if āGā switch senses a predetermined
deceleration level.
b. ON - Remotely activates the transmitter for test or
emergency situations. The RED warning light above the
rocker switch comes on to indicate that the transmitter is
transmitting a distress signal.
Figure S1-1
172RPHBUS-S1-00
S1-5










