Specifications
Manuals
Brands
Redarc Manuals
Consumer electronics
R-12-700S
241
242
243
244
245
246
247
248
249
250
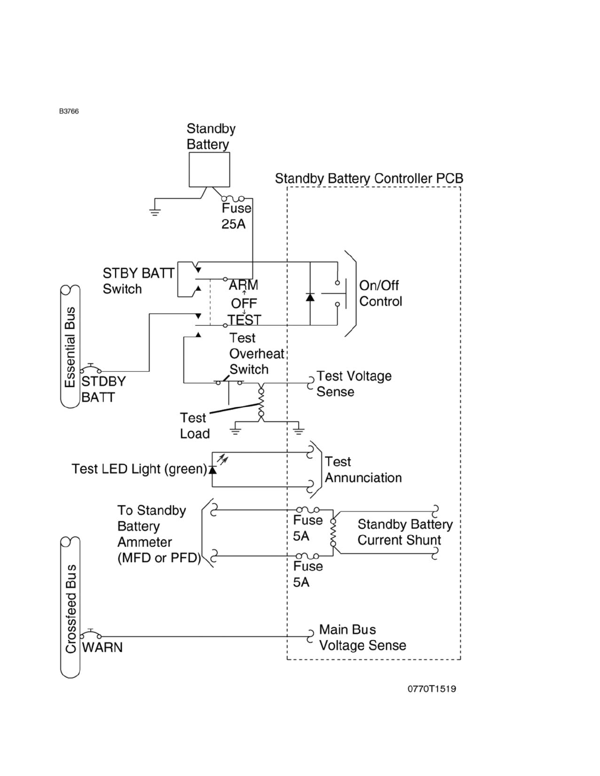
SECTION 7
CESSNA
AIRPLANE AND SYSTEM DESCRIPTION
MODEL 172R NA
V
II
I
GFC 700 AFCS
U.S.
ELECTRICAL SYSTEM
(Continued)
Figure 7-7 (Sheet 3)
172RPHBUS-00
7-50
1
...
...
248
249
250
251
252
...
...
350