Specifications

CESSNA SECTION 6
MODEL 172R NAV III WEIGHT AND BALANCE/
GFC 700 AFCS EQUIPMENT LIST
U.S.
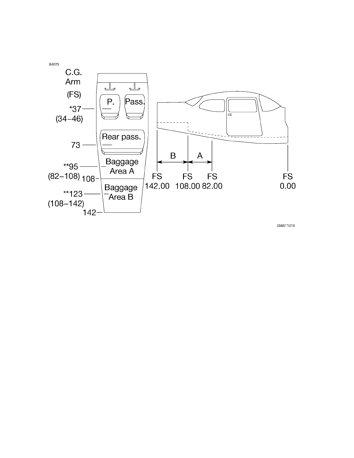
LOADING ARRANGEMENTS
*Pilot and front seat passenger center of gravity on adjustable seats
positioned for average occupant. Numbers in parentheses indicate
forward and aft limits of occupant center of gravity range.
**Arm measured to the center of the areas shown.
NOTE
• The usable fuel C.G. arm is located at FS 48.00.
• The aft baggage wall (approximate FS 108.00) or aft
baggage wall (approximate FS 142.00) can be used as
a convenient interior reference point for determining the
location of baggage area fuselage stations.
• To achieve an airplane loading within the utility category,
it may be necessary to remove the rear passenger seat
assembly from the airplane. Refer to Figure 6-9 for
applicable weight and arm.
Figure 6-5
172RPHBUS-00
6-13










