Specifications
Manuals
Brands
REAL PHONE CORPORATION Manuals
Cell Phone
R12C
1
2
3
4
5
6
7
8
9
10
Table Of Contents
Description
Performance Summary
Parts List
10
dc2064af
DEMO MANUAL DC2064A
QUICK
START
PROCEDURE
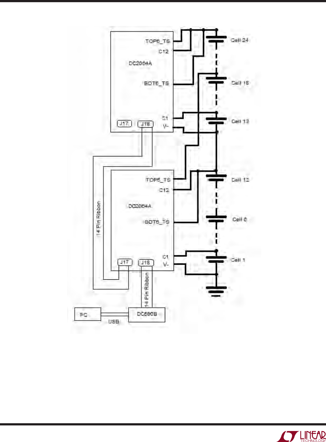
Figure 21. 24 Cell Interconnected Stacks
1
...
...
8
9
10
11
12
...
...
36