Cassette Player User Manual
Manuals
Brands
RCA Manuals
Cassette Player
CDP18S711
41
42
43
44
45
46
47
48
49
50
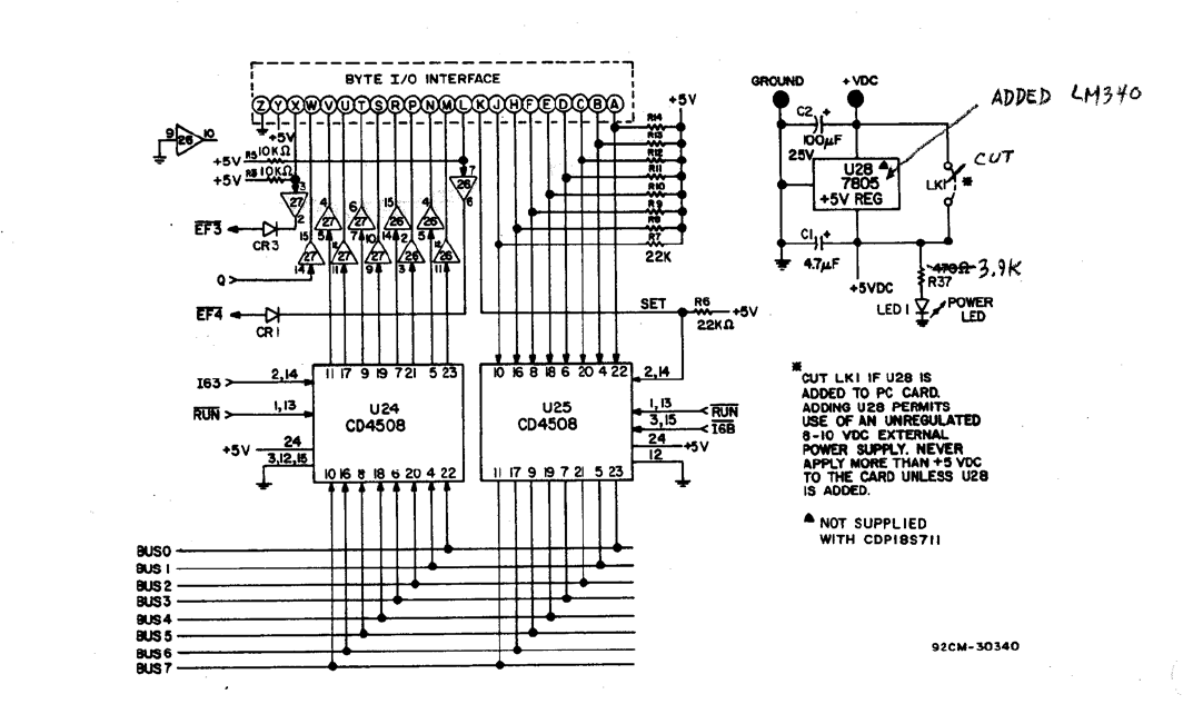
Fig.
E-5 - Power Supply
Circult and Byte Input/Output I
nterface
72
RCA COSMAC VIP Instruction Manual
1
...
...
45
46
47
48
49
...
...
55