Manual

17
4920A–GPS–01/06
ATR0630 [Preliminary]
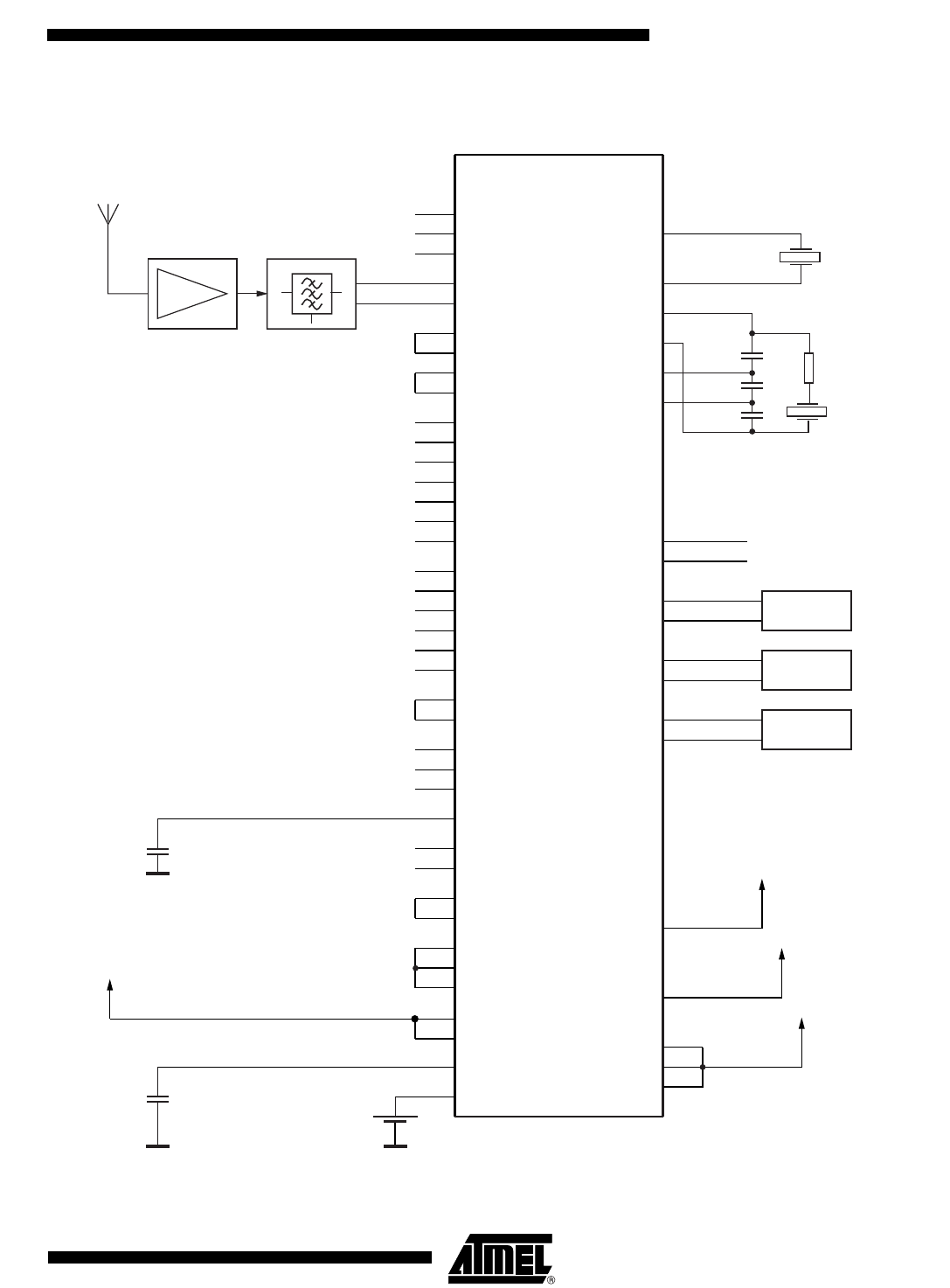
3.4.3 External Connections for a Working GPS System
Figure 3-2. Example of an External Connection (ATR0630)
ATR0630
see Table 3-15
see Table 3-15
see Table 3-15
see Table 3-15
see Table 3-15
(see Power Supply)
+3V
USB_DM
USB_DP
P18
Optional
USART 2
Optional
USART 1
Optional
USB
P31
P21
VCC1
VBP
P22
P20
P8
P9
P12 - 17
VBAT
VBAT18
LDO_IN
LDOBAT_IN
P23 - 27
P19
P0 - 2
STATUS LED
TIMEPULSE
see Table 3-15 P29 - 30
NC: Not connected
(see Power Supply)
+3V
GND
+3V
(see Power Supply)
VCC2
+3V
(see Power Supply)
+3V
(see Power Supply)
VDD_USB
VDDIO
VDIG
LDO_OUT
VDD18
LDO_EN
NSHDN
GNDA
GNDD
GND analog
GND digital
AGCO
GND
EGC
TEST
MO
GND analog
NC
NC
SDI
P30/AGCOUT0
NC
NC
NC
NC
NC
NC
NC
TCK
NTRST
TDI
NRESET
TDO
DBG_EN
TMS
PUXTO
NSLEEP
PURF
RF_ON
NC
NC
NC CLK23
SIGHI
SIGLO
XT_IN
XT_OUT
32.768 kHz
(see RTC)
XTO
NXTO
X
NX
23.104 MHz
(see GPS crystal)
SAW
LNA
(optional)
ATR0610
RF
NRF










