Manual
Table Of Contents
- Features
- Pin Configurations
- Description
- Architectural Overview- General Purpose Register File
- ALU – Arithmetic Logic Unit
- In-System Programmable Flash Program Memory
- SRAM Data Memory
- Program and Data Addressing Modes- Register Direct, Single Register Rd
- Register Direct, Two Registers Rd and Rr
- I/O Direct
- Data Direct
- Data Indirect with Displacement
- Data Indirect
- Data Indirect with Pre- decrement
- Data Indirect with Post- increment
- Constant Addressing Using the LPM Instruction
- Indirect Program Addressing, IJMP and ICALL
- Relative Program Addressing, RJMP and RCALL
 
- EEPROM Data Memory
- Memory Access Times and Instruction Execution Timing
- I/O Memory
- Reset and Interrupt Handling- Reset Sources
- Power-on Reset
- External Reset
- Brown-out Detection
- Watchdog Reset
- MCU Status Register – MCUSR
- Interrupt Handling
- General Interrupt Mask Register – GIMSK
- General Interrupt Flag Register – GIFR
- Timer/Counter Interrupt Mask Register – TIMSK
- Timer/Counter Interrupt Flag Register – TIFR
- External Interrupts
- Interrupt Response Time
- MCU Control Register – MCUCR
 
- Sleep Modes
 
- Timer/Counters
- 16-bit Timer/Counter1
- Watchdog Timer
- EEPROM Read/Write Access
- Serial Peripheral Interface – SPI
- UART
- Analog Comparator
- Analog-to-Digital Converter
- I/O Ports
- Memory Programming
- Electrical Characteristics
- External Clock Drive Waveforms
- Typical Characteristics
- Register Summary
- Instruction Set Summary
- Ordering Information
- Packaging Information
- Errata for AT90S/LS4433 Rev. Rev. C/D/E/F
- Data Sheet ChangeLog for AT90S/LS4433
- Table of Contents

62
AT90S/LS4433
1042G–AVR–09/02
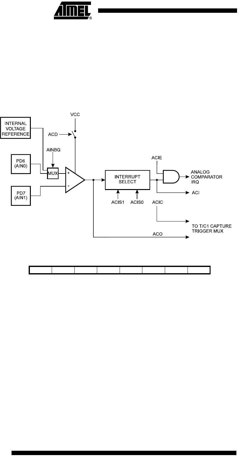
Analog Comparator The Analog Comparator compares the input values on the positive input PD6 (AIN0)
and negative input PD7 (AIN1). When the voltage on the positive input PD6 (AIN0) is
higher than the voltage on the negative input PD7 (AIN1), the Analog Comparator Out-
put, ACO, is set (one). The comparator’s output can be set to trigger the Timer/Counter1
Input Capture function. In addition, the comparator can trigger a separate interrupt,
exclusive to the Analog Comparator. The user can select interrupt triggering on compar-
ator output rise, fall or toggle. A block diagram of the comparator and its surrounding
logic is shown in Figure 43.
Figure 43. Analog Comparator Block Diagram
Analog Comparator Control
and Status Register – ACSR
• Bit 7 – ACD: Analog Comparator Disable
When this bit is set (one), the power to the Analog Comparator is switched off. This bit
can be set at any time to turn off the Analog Comparator. When changing the ACD bit,
the Analog Comparator interrupt must be disabled by clearing the ACIE bit in ACSR.
Otherwise, an interrupt can occur when the bit is changed.
• Bit 6 – AINBG: Analog Comparator Bandgap Select
When this bit is set, BOD is enabled and the BODEN is programmed, a fixed bandgap
voltage of 1.22V ± 0.1V replaces the normal input to the positive input (AIN0) of the
comparator. When this bit is cleared, the normal input pin, PD6, is applied to the positive
input of the comparator.
• Bit 5 – ACO: Analog Comparator Output
ACO is directly connected to the comparator output.
Bit 76543210
$08 ($28) ACD AINBG ACO ACI ACIE ACIC ACIS1 ACIS0 ACSR
Read/Write R/W R/W R R/W R/W R/W R/W R/W
InitialValue00N/A00000










