Manual
Table Of Contents
- Features
- Pin Configurations
- Description
- Architectural Overview- General Purpose Register File
- ALU – Arithmetic Logic Unit
- In-System Programmable Flash Program Memory
- SRAM Data Memory
- Program and Data Addressing Modes- Register Direct, Single Register Rd
- Register Direct, Two Registers Rd and Rr
- I/O Direct
- Data Direct
- Data Indirect with Displacement
- Data Indirect
- Data Indirect with Pre- decrement
- Data Indirect with Post- increment
- Constant Addressing Using the LPM Instruction
- Indirect Program Addressing, IJMP and ICALL
- Relative Program Addressing, RJMP and RCALL
 
- EEPROM Data Memory
- Memory Access Times and Instruction Execution Timing
- I/O Memory
- Reset and Interrupt Handling- Reset Sources
- Power-on Reset
- External Reset
- Brown-out Detection
- Watchdog Reset
- MCU Status Register – MCUSR
- Interrupt Handling
- General Interrupt Mask Register – GIMSK
- General Interrupt Flag Register – GIFR
- Timer/Counter Interrupt Mask Register – TIMSK
- Timer/Counter Interrupt Flag Register – TIFR
- External Interrupts
- Interrupt Response Time
- MCU Control Register – MCUCR
 
- Sleep Modes
 
- Timer/Counters
- 16-bit Timer/Counter1
- Watchdog Timer
- EEPROM Read/Write Access
- Serial Peripheral Interface – SPI
- UART
- Analog Comparator
- Analog-to-Digital Converter
- I/O Ports
- Memory Programming
- Electrical Characteristics
- External Clock Drive Waveforms
- Typical Characteristics
- Register Summary
- Instruction Set Summary
- Ordering Information
- Packaging Information
- Errata for AT90S/LS4433 Rev. Rev. C/D/E/F
- Data Sheet ChangeLog for AT90S/LS4433
- Table of Contents

54
AT90S/LS4433
1042G–AVR–09/02
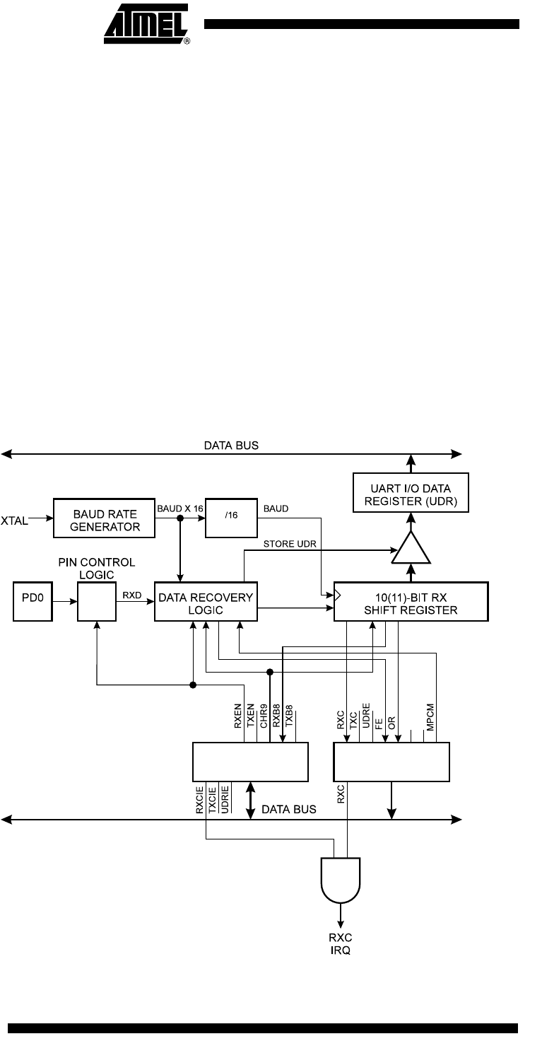
data is transferred from UDR to the 10(11)-bit Shift Register, bit 0 of the Shift Register is
cleared (start bit) and bit 9 or 10 is set (stop bit). If 9-bit data word is selected (the CHR9
bit in the UART Control and Status Register B, UCSRB is set), the TXB8 bit in UCSRB is
transferred to bit nine in the Transmit Shift Register.
On the baud rate clock following the transfer operation to the Shift Register, the start bit
is shifted out on the TXD pin. Then follows the data, LSB first. When the stop bit has
been shifted out, the Shift Register is loaded if any new data has been written to the
UDR during the transmission. During loading, UDRE is set. If there is no new data in the
UDR Register to send when the stop bit is shifted out, the UDRE Flag will remain set
until UDR is written again. When no new data has been written, and the stop bit has
been present on TXD for one bit length, the TX Complete Flag, TXC, in UCSRA is set.
The TXEN bit in UCSRB enables the UART Transmitter when set (one). When this bit is
cleared (zero), the PD1 pin can be used for general I/O. When TXEN is set, the UART
Transmitter will be connected to PD1, which is forced to be an output pin regardless of
the setting of the DDD1 bit in DDRD.
Data Reception Figure 41 shows a block diagram of the UART Receiver.
Figure 41. UART Receiver
UART CONTROL
AND STAUS
REGISTER B (UCSRB)
UART CONTROL
AND STAUS
REGISTER A (UCSRA)










