User guide
Table Of Contents
- Features
- 1. Description
- 2. Pin Configurations and Pinouts
- 3. Block Diagram
- 4. Memory Array
- 5. Device Operation
- 6. Read Commands
- 7. Program and Erase Commands
- 8. Sector Protection
- 9. Hardware Controlled Protection
- 10. Security Features
- 11. Additional Commands
- 12. Deep Power-down
- 13. “Power of 2” Binary Page Size Option
- 14. Manufacturer and Device ID Read
- 15. Command Tables
- 16. Power-on/Reset State
- 17. System Considerations
- 18. Electrical Specifications
- 19. Input Test Waveforms and Measurement Levels
- 20. Output Test Load
- 21. AC Waveforms
- 21.1 Waveform 1 – SPI Mode 0 Compatible (for Frequencies up to 66MHz)
- 21.2 Waveform 2 – SPI Mode 3 Compatible (for Frequencies up to 66MHz)
- 21.3 Waveform 3 – RapidS Mode 0 (FMAX = 66MHz)
- 21.4 Waveform 4 – RapidS Mode 3 (FMAX = 66MHz)
- 21.5 Utilizing the RapidS Function
- 21.6 Reset Timing
- 21.7 Command Sequence for Read/Write Operations for Page Size 256-Bytes (Except Status Register Read, Manufacturer and Device ID Read)
- 21.8 Command Sequence for Read/Write Operations for Page Size 264-Bytes (Except Status Register Read, Manufacturer and Device ID Read)
- 22. Write Operations
- 23. Read Operations
- 24. Detailed Bit-level Read Waveform – RapidS Serial Interface Mode 0/Mode 3
- 24.1 Continuous Array Read (Legacy Opcode E8H)
- 24.2 Continuous Array Read (Opcode 0BH)
- 24.3 Continuous Array Read (Low Frequency: Opcode 03H)
- 24.4 Main Memory Page Read (Opcode: D2H)
- 24.5 Buffer Read (Opcode D4H or D6H)
- 24.6 Buffer Read (Low Frequency: Opcode D1H or D3H)
- 24.7 Read Sector Protection Register (Opcode 32H)
- 24.8 Read Sector Lockdown Register (Opcode 35H)
- 24.9 Read Security Register (Opcode 77H)
- 24.10 Status Register Read (Opcode D7H)
- 24.11 Manufacturer and Device Read (Opcode 9FH)
- 25. Auto Page Rewrite Flowchart
- 26. Ordering Information
- 27. Packaging Information
- 28. Revision History
- 29. Errata

11
3596N–DFLASH–11/2012
AT45DB081D
The WP pin can be asserted while the device is erasing, but protection will not be activated until
the internal erase cycle completes.
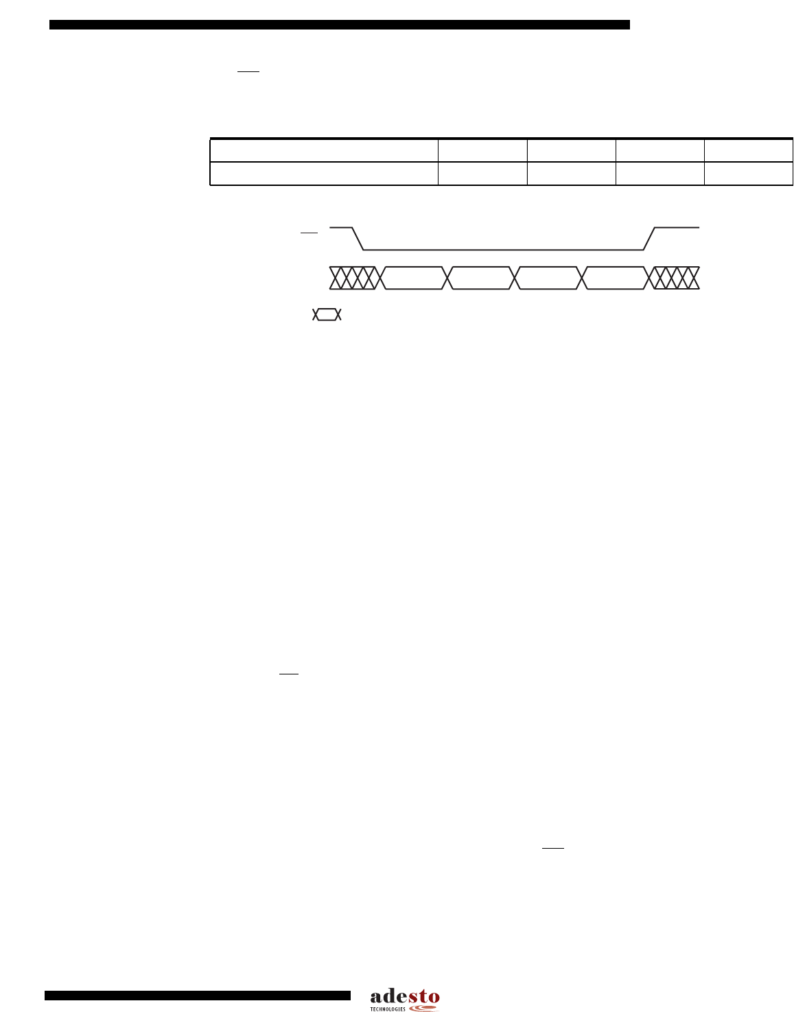
Table 7-3. Chip Erase Command
Figure 7-1. Chip Erase
Note: Refer to errata regarding Chip Erase on page 52.
7.8 Main Memory Page Program Through Buffer
This operation is a combination of the Buffer Write and Buffer to Main Memory Page Program
with Built-in Erase operations. Data is first clocked into buffer 1 or buffer 2 from the input pin (SI)
and then programmed into a specified page in the main memory. To perform a main memory
page program through buffer for the DataFlash standard page size (264-bytes), a 1-byte
opcode, 82H for buffer 1 or 85H for buffer 2, must first be clocked into the device, followed by
three address bytes. The address bytes are comprised of three don’t care bits, 12 page address
bits, (PA11 - PA0) that select the page in the main memory where data is to be written, and nine
buffer address bits (BFA8 - BFA0) that select the first byte in the buffer to be written. To perform
a main memory page program through buffer for the binary page size (256-bytes), the opcode
82H for buffer 1 or 85H for buffer 2, must be clocked into the device followed by three address
bytes consisting of four don’t care bits, 12 page address bits (A19 - A8) that specify the page in
the main memory to be written, and eight buffer address bits (BFA7 - BFA0) that selects the first
byte in the buffer to be written. After all address bytes are clocked in, the part will take data from
the input pins and store it in the specified data buffer. If the end of the buffer is reached, the
device will wrap around back to the beginning of the buffer. When there is a low-to-high transi-
tion on the CS pin, the part will first erase the selected page in main memory to all 1s and then
program the data stored in the buffer into that memory page. Both the erase and the program-
ming of the page are internally self-timed and should take place in a maximum time of t
EP
.
During this time, the status register will indicate that the part is busy.
8. Sector Protection
Two protection methods, hardware and software controlled, are provided for protection against
inadvertent or erroneous program and erase cycles. The software controlled method relies on
the use of software commands to enable and disable sector protection while the hardware con-
trolled method employs the use of the Write Protect (WP) pin. The selection of which sectors
that are to be protected or unprotected against program and erase operations is specified in the
nonvolatile Sector Protection Register. The status of whether or not sector protection has been
enabled or disabled by either the software or the hardware controlled methods can be deter-
mined by checking the Status Register.
Command Byte 1 Byte 2 Byte 3 Byte 4
Chip Erase C7H 94H 80H 9AH
Opcode
Byte 1
Opcode
Byte 2
Opcode
Byte 3
Opcode
Byte 4
CS
Each transition
represents 8 bits
SI










