Owner's manual
Table Of Contents
- Features
- Description
- Pin Configurations
- Block Diagram
- Device Operation
- Absolute Maximum Ratings*
- DC and AC Operating Range
- Operating Modes
- DC Characteristics
- AC Read Characteristics
- AC Read Waveforms
- Input Test Waveforms and Measurement Level
- Output Test Load
- Pin Capacitance
- AC Byte Load Characteristics
- AC Byte Load Waveforms(1)(2)
- Program Cycle Characteristics
- Software Protected Program Waveform
- Programming Algorithm(1)
- Data Polling Characteristics(1)(2)
- Data Polling Waveforms
- Toggle Bit Characteristics(1)
- Toggle Bit Waveforms(1)(3)
- Software Product Identification Entry(1)
- Software Product Identification Exit(1)
- Boot Block Lockout Feature Enable Algorithm(1)
- Ordering Information
- Packaging Information

2
AT29BV020
0402D–FLASH–05/02
To allow for simple in-system reprogrammability, the AT29BV020 does not require high input
voltages for programming. The device can be operated with a single 2.7V to 3.6V supply.
Reading data out of the device is similar to reading from an EPROM. Reprogramming the
AT29BV020 is performed on a sector basis; 256 bytes of data are loaded into the device and
then simultaneously programmed.
During a reprogram cycle, the address locations and 256 bytes of data are captured at micro-
processor speed and internally latched, freeing the address and data bus for other operations.
Following the initiation of a program cycle, the device will automatically erase the sector and
then program the latched data using an internal control timer. The end of a program cycle can
be detected by DATA
polling of I/O7. Once the end of a program cycle has been detected, a
new access for a read or program can begin.
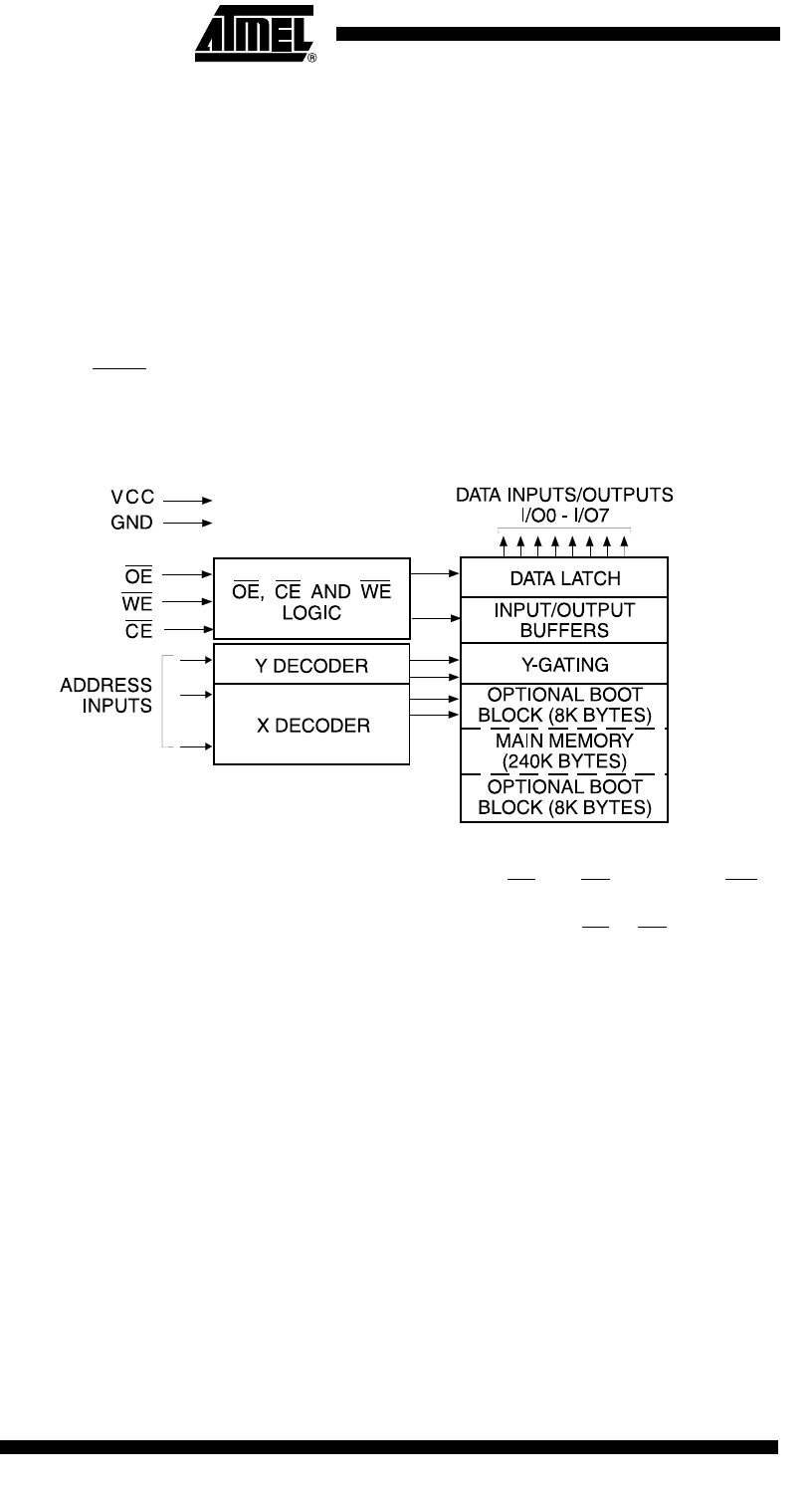
Block Diagram
Device
Operation
READ: The AT29BV020 is accessed like an EPROM. When CE and OE are low and WE is
high, the data stored at the memory location determined by the address pins is asserted on
the outputs. The outputs are put in the high impedance state whenever CE
or OE is high. This
dual-line control gives designers flexibility in preventing bus contention.
SOFTWARE DATA PROTECTION PROGRAMMING: The AT29BV020 has 1024 individual
sectors, each 256 bytes. Using the software data protection feature, byte loads are used to
enter the 256 bytes of a sector to be programmed. The AT29BV020 can only be programmed
or reprogrammed using the software data protection feature. The device is programmed on a
sector basis. If a byte of data within the sector is to be changed, data for the entire 256-byte
sector must be loaded into the device. The data in any byte that is not loaded during the pro-
gramming of its sector will be indeterminate. The AT29BV020 automatically does a sector
erase prior to loading the data into the sector. An erase command is not required.
Software data protection protects the device from inadvertent programming. A series of three
program commands to specific addresses with specific data must be presented to the device
before programming may occur. The same three program commands must begin each pro-
gram operation. All software program commands must obey the sector program timing
specifications. Power transitions will not reset the software data protection feature; however,
the software feature will guard against inadvertent program cycles during power transitions.










