User manual

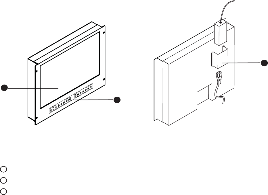
2.2 Structure Diagram Chapter 2
LCD interchangeable module kit
2-in-1 LCD + Quad display membrane
Power adapter bracket
1
1
3
2
Front view Rear view
3
2
Power adapter
Power cord
RP-W819QD & RP-W922QD
P. 6
S
e
t
u
p
V
C
R
S
E
Q
<
<
<
>
Q
u
ad
Di
s
p
l
a
y
C
o
n
tro
l
L
CD
O
S
D
M
e
n
u