
ADM8701AN
1
PARTNUMBER
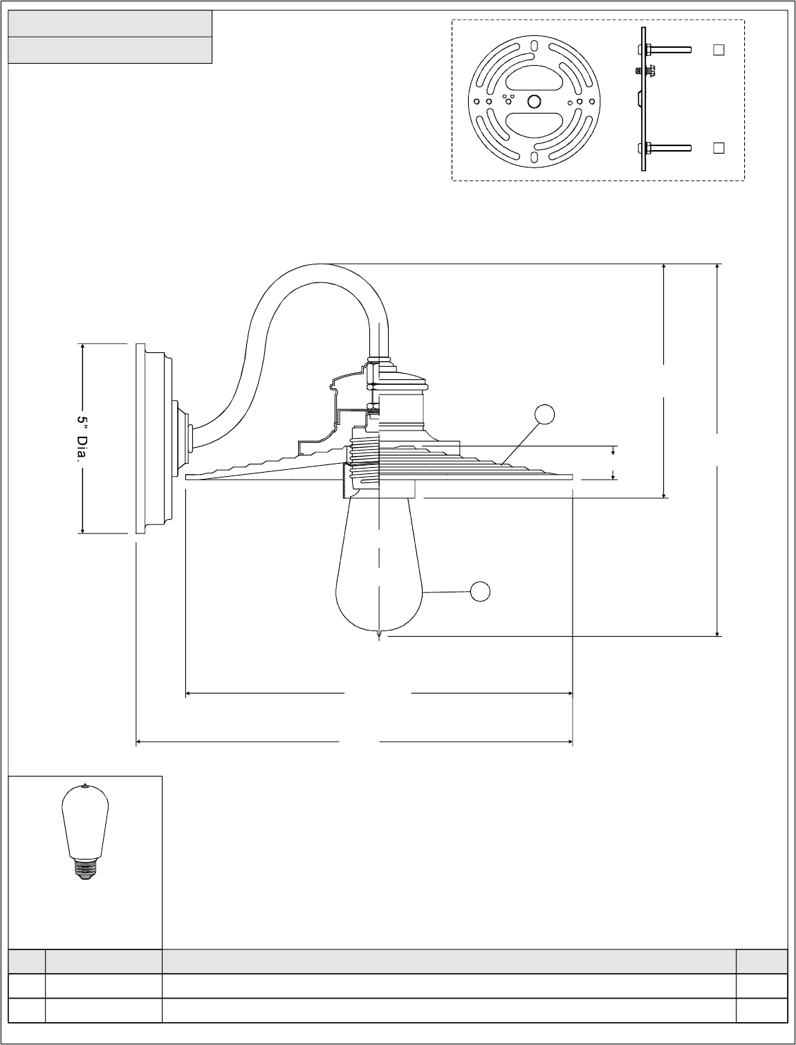
NOTE:ALLDIMENSIONSAREROUNDEDUPTOTHENEAREST1/2"
REPLACEMENTPARTDESCRIPTION REQ.NO.
2of5
FINISH:ANTIQUENICKEL
GND
2.4mm
13Ga
QUOIZEL
R
6”
10”
1”
10” Dia.
11.5”
1
G3697SH CLEARGLASSSHADE10.5”D 1
2
I1101EC REPRODC60W1910INCANDESCENTBULB 1
2
(1)MediumBase
DecorativeFilament
60Wbulb(provided),
Maximum100W.