User's Manual

September 7, 2007
433-1390D
Page 53
7100FP EPA Woodburning Fireplace
R
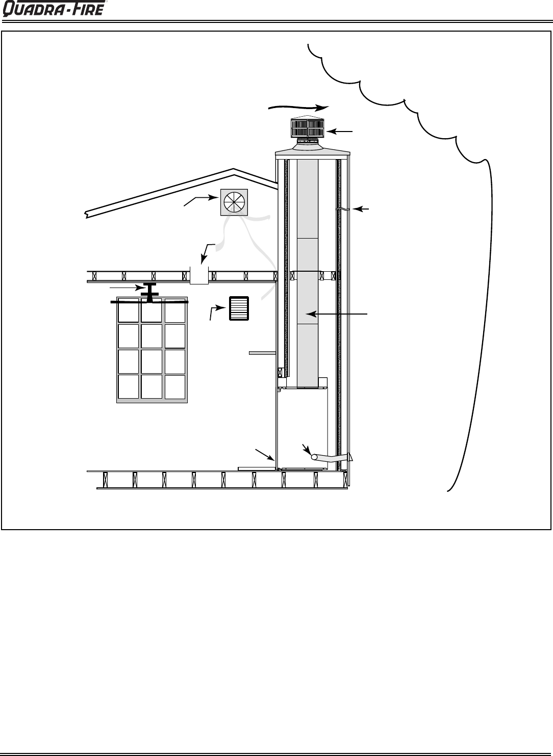
Another appliance in
home also exhausting
air (furnace, fan,
dryer, etc.)?
Air register from
furnace near
fireplace?
Doors opening
and closing?
Window closed
for start-up?
Outside air
closed?
Overhead fan
operating?
Overhanging
tree?
Bird's nest
or leaves in
termination
cap?
Structural
changes in
chimney area?
Creosote buildup
in flue?
S
t
r
o
n
g
w
i
n
d
s
a
r
o
u
n
d
c
h
i
m
n
e
y
t
e
r
m
i
n
a
t
i
o
n
?
Unsealed
can lights?
Combustion
air control
Figure 53.1 Factory-built Fireplaces: Troubleshooting










