
E
E
D
C
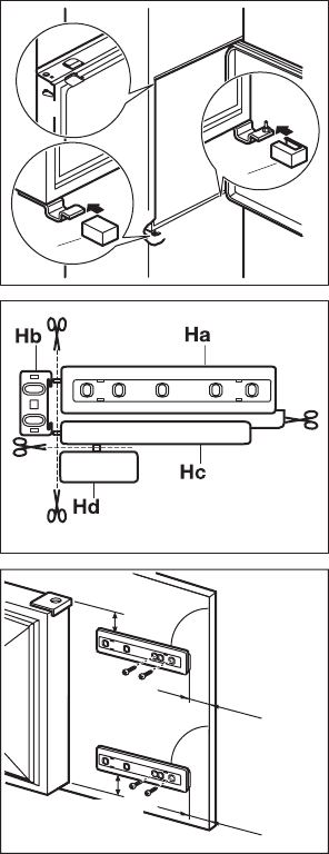
Prie ąselių ir lanksto angų pritvirtinkite
dangtelius (C, D).
Ant lanksto uždėkite lanksto dangtelius (E).
Atskirkite dalis (Ha), (Hb), (Hc) ir (Hd).
ca. 50 mm
ca. 50 mm
21 mm
90°
90°
21 mm
Ant virtuvės baldo durelių vidinės pusės su-
montuokite dalį (Ha).
progress 45