User manual

4 mm
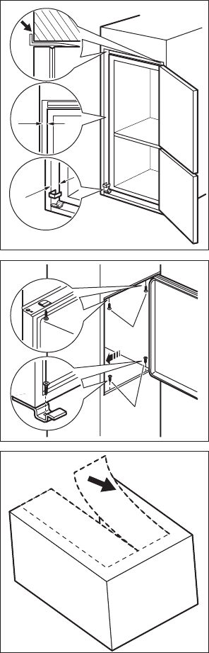
44 mm
Pareguliuokite prietaisą nišoje.
Tarp prietaiso ir spintelės priekio turi būti 44
mm atstumas.
Apatinis lanksto dangtelis (priedų maišelyje)
užtikrina, kad tarpas tarp virtuvės baldų ir
prietaiso būtų tinkamas.
Tarp prietaiso ir spintelės turi būti 4 mm tar-
pas.
Atidarykite dureles. Uždėkite į vietą apatinio
lanksto dangtelį.
I
I
Prietaisą tvirtinkite prie nišos 4 varžtais.
Nuo lanksto dangtelio (E) nuimkite tinkamą
dalį. Jei lankstas yra dešinėje pusėje, būti-
nai išimkite dalį DX, jei lankstas kairėje pu-
sėje – dalį SX.
44 progress










