
E
E
D
C
Piestipriniet apvalkus (C,D) pie kronšteiniem
un eņģu atverēm.
Piestipriniet eņģu apvalkus (E) pie eņģēm.
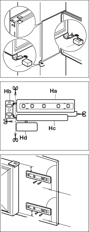
Atvienojiet detaļas (Ha), (Hb), (Hc) un (Hd).
ca. 50 mm
ca. 50 mm
21 mm
90°
90°
21 mm
Uzstādiet daļu (Ha) virtuves mēbeļu durvju
iekšpusē.
progress 29