User manual
Table Of Contents

използвайте уреда, ако
уплътнението на вратичката е
повредено. Свържете се с
оторизиран сервизен център.
• За почистване на уплътнението на
вратичката вижте общата
информация за почистване.
Демонтиране на носачите на
скарата
За да почистите фурната, свалете
носачите на скарата.
1. Издърпайте предната част на
носачите на скарата от страничната
стена.
2. Издърпайте задната част на носача
на скарата от стената и го извадете.
2
1
Поставете носачите на скарата в
обратна последователност.
Почистване с вода
Процедурата "Почистване с вода"
използва влажност за отстраняване на
полепнали мазнини и частици храна от
фурната.
1. Налейте 200 мл вода в релефа във
вътрешността в долната част на
фурната.
2. Задайте функцията Топъл въздух
ПЛЮС .
3. Настройте температурата на 90 °C.
4. Оставете уреда да работи 30
минути.
5. Деактивирайте уреда и го оставете
да се охлади.
6. Когато уредът изстине, почистете
вътрешните повърхности на
фурната с кърпа.
ВНИМАНИЕ! Уверете се,
че уредът е охладен,
преди да го докоснете.
Съществува опасност от
изгаряния.
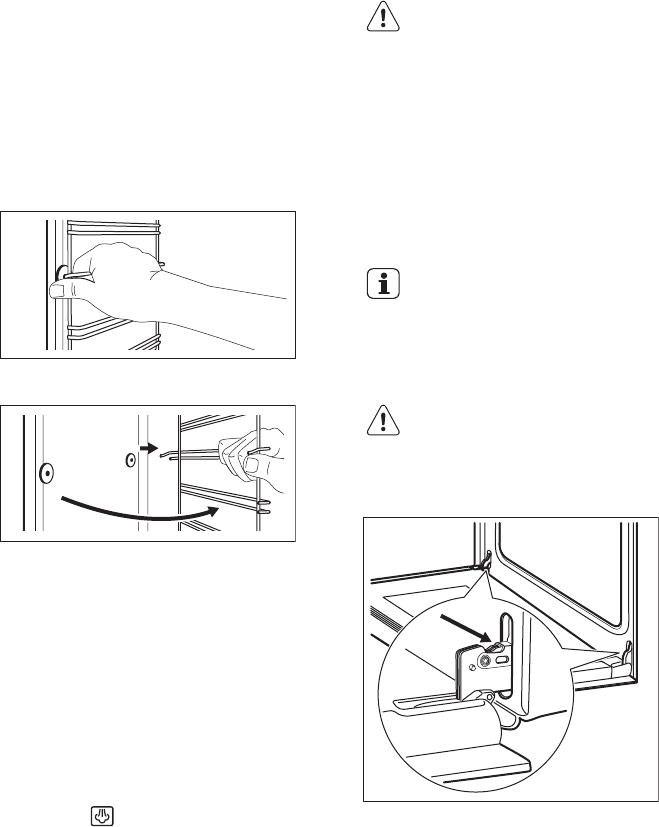
Почистване на вратичката на
фурната
Вратичката на фурната има два
стъклени панела. Можете да извадите
вратичката на фурната и вътрешния
стъклен панел, за да го почистите.
Вратичката на фурната може
да се затвори, ако опитате да
извадите вътрешните
стъклени панели преди да
сте свалили вратичката на
фурната.
ПРЕДУПРЕЖДЕНИЕ! Не
използвайте уреда без
вътрешния стъклен панел.
1. Отворете докрай вратичката и
хванете двете й панти.
2. Повдигнете и завъртете лостчетата
на двете панти.
Progress 25










