User manual

NV
t~ëÅÜÖ~åÖ=ÇìêÅÜÑΩÜêÉå
báåÑΩääíΩê=∏ÑÑåÉåLt®ëÅÜÉ=
ÉáåÑΩääÉå
1. báåÑ ΩääíΩê=∏ÑÑåÉåW=~ã=dêáÑÑ=ÇÉê=báåÑΩääJ
íΩê=òáÉÜÉåK
2. t® ëÅÜÉ= ~ìëÉáå~åÇÉêÑ~äíÉå= ìåÇ= äçJ
ÅâÉê=ÉáåÑΩääÉåK=dêç≈É=ìåÇ=â äÉáåÉ=qÉáäÉ
ãáëÅÜÉåK=
^ÅÜíìåÖ>= hÉáåÉ= t®ëÅÜÉ= òïáëÅÜÉå
báåÑΩääíΩê= ìåÇ= dìããáÇáÅÜíìåÖ= ÉáåJ
âäÉããÉåK==
3. báåÑ ΩääíΩê= ÑÉëí= òìÇêΩÅâÉåK= pÅÜäçëë
ãìëë= Ü∏êÄ~ê= Éáåê~ëíÉåK= aÉê= t~ëÅÜJ
~ìíçã~í= ä®ìÑí= åìê= ~ åI= ïÉåå= ÇáÉ= qΩê
êáÅÜíáÖ=ÖÉëÅÜäçëëÉå=áëíK
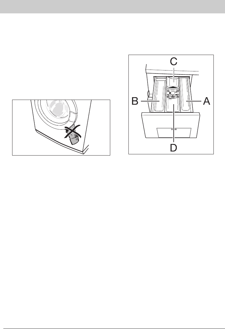
t~ëÅÜãáííÉäòìÖ~ÄÉ
pÅÜìÄä~ÇÉ=ÑΩê=t~ëÅÜJ=ìåÇ=
mÑäÉÖÉãáííÉä=
mìäîÉê~êíáÖÉ=t~ëÅÜãáííÉä
• báåëéΩäÑ~ÅÜ=^=EêÉÅÜíëF
t~ëÅÜãáííÉä=ÑΩê=sçêï®ëÅÜÉ=çÇÉê=báåJ
ïÉáÅÜÉåK=
• báåëéΩäÑ~ÅÜ=_=EäáåâëF
t~ëÅÜãáííÉä= ÑΩê= e~ìéíï®ëÅÜÉ= ìåÇ
t~ëëÉêÉåíÜ®êíÉêK
• báåëéΩäÑ~ÅÜ=`=EjáííÉ=ÜáåíÉåF
cäÉÅâÉåë~äòI= ïÉåå= mêçÖê~ããòìë~íò
cib`hbk= ÖÉï®Üäí= ïìêÇÉK= a~ë= jáíJ
íÉä=ïáêÇ=Ç~åå=òÉáíçéíáãáÉêí=áã=e~ìéíJ
ï~ëÅÜÖ~åÖ=ÉáåÖÉëéΩäíK
• báåëéΩäÑ~ÅÜ=a=EjáííÉ=îçêåÉF
cäΩëëáÖÉ= wìë~íòãáííÉäI= ïáÉ= tÉáÅÜJ
ëéΩäÉêI= cçêãëéΩäÉêI= ÑäΩëëáÖÉ= pí®êâÉ
EéìäîÉêÑ∏êãáÖÉ=pí®êâÉ=~ìÑä∏ëÉåF=ìëïK
_áííÉ= ~ÅÜíÉå= páÉ= Ç~ê~ìÑI= Ç~ëë= ÇáÉëÉ
jáííÉä=åìê=Äáë=òìê=j~êâáÉêìåÖ=łj^u
ÉáåÖÉÑΩääí=ïÉêÇÉåI=~åëçåëíÉå=ÄÉëíÉÜí
ÇáÉ= j∏ÖäáÅÜâÉáíI= Ç~ëë= ëáÉ= îçêòÉáíáÖ
~ÄÖÉë~ìÖí=ïÉêÇÉåK










