User manual
Manuals
Brands
Privileg Manuals
Other
6000-W
31
32
33
34
35
36
37
38
39
40
37
•
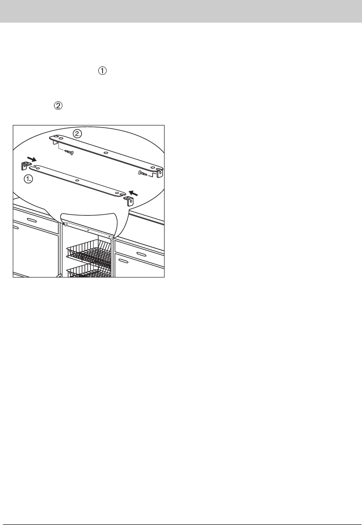
Ist die Arbeitsplatte aus Marmor
oder
Granit, m
ü
ssen die mitgelie
ferten
Winkelst
ü
cke auf das Wrasenschutz-
blech aufgesteckt
und das Wra-
senschutzblech dann am linken und
rechten Unterbauschrank festge-
schraubt
werden.
1
...
...
35
36
37
38
39
...
...
44