User's Manual

044-05077 Rev. A
2-5
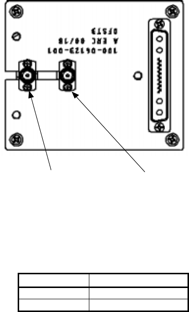
2-5.2. AMPLIFIER MODULE RF CONNECTOR
The amplifier has a separate RF connector which is used for the RF signal input and output. The
RF connections on the amplifier connector are made through two radial BMA coaxial contacts.
(figure 2-3) and are listed and described in table 2-2.
Figure 2-3. Amplifier RF Connector
Table 2-2. Amplifier RF Connector Definition
FUNCTION DESCRIPTION
RF Input Radiall BMA Female
RF Output Radiall BMA Female
RF Output
RF Input