User guide
Manuals
Brands
Peerless Manuals
Office Furniture
DS-C555-3X2
1
2
3
4
5
6
7
8
9
10
7
2014-05-30 #:009-9084-2 (2014-07-15)
2
S (4)
S (4)
F
F
T (2)
T (2)
D
T (2)
T (2)
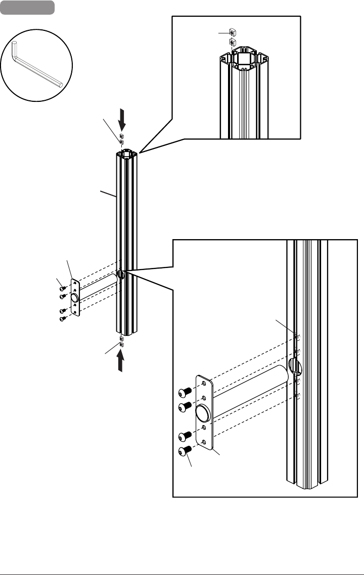
Repeat for each base leg assembly
.
(5mm)
Y
1
...
...
5
6
7
8
9
...
...
24