User guide
Manuals
Brands
Peerless Manuals
Office Furniture
DS-C555-3X2
1
2
3
4
5
6
7
8
9
10
6
2014-05-30 #:009-9084-2 (2014-07-15)
1
S (4)
A
B
S (2)
T (2)
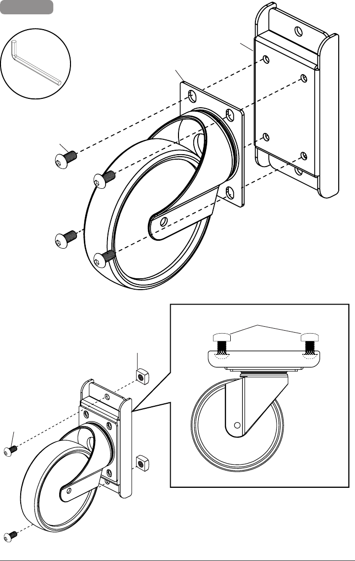
Repeat for each caster assembly
.
Do not fully tighten hardware
(5mm)
Y
SIDE VIEW
1
...
...
4
5
6
7
8
...
...
24