Instruction Manual

1104 Oxygen Combustion Vessel
www.parrinst.com
5
Preparing the Fuse When the Combustion 
Cage is Used
Set the bomb head on the support stand (P/N A38A) 
and attach one end of a 10 cm length of fuse wire to 
the hook on the straight electrode. 
Run the wire through the slot in the cage, then up 
through one of the holes in the top plate. Anchor 
the free end under the head of one of the nearby 
screws. Form the wire into a loop that will dip down 
to the combustion capsule and check the position of 
the wire to be sure that it does not touch the cage 
at any point except the anchorage under the screw 
head.
Set the capsule with its weighed sample in the bot-
tom of the cage. Tighten the retaining screws to hold 
the capsule rmly in place. Finally, bend the fuse 
wire downward toward the surface of the charge. 
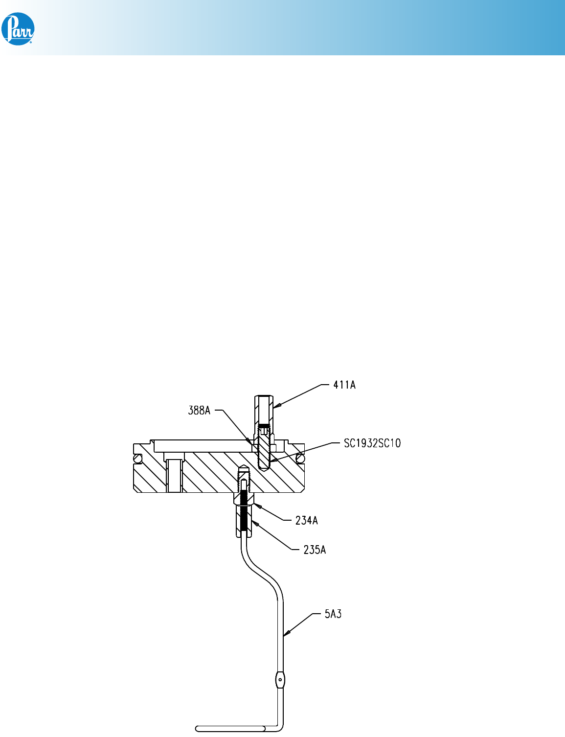
Preparing the Fuse When the Combustion 
Cage is Not Used
To replace the sample cage with the sample capsule, 
unscrew the cage assembly from the bomb head 
and replace it with a loop electrode (P/N 5A3). Use a 
bushing (P/N 234A) in the bomb head and a lock nut 
(P/N 235A) to anchor the electrode.
Capsule Support Loop










