Instruction Manual

1104 Oxygen Combustion Vessel
Parr Instrument Company
4
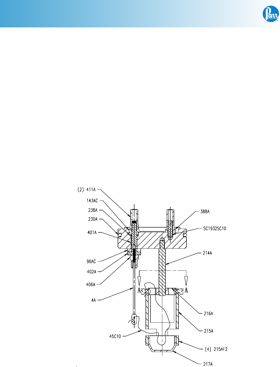
Bomb Head Assembly
Sample Preparation (continued)
It is not advisable to test true explosives in the 
presence of oxygen. Some of the end products of 
the explosion will be combustible in high-pressure 
oxygen, for example, mixed oxides of nitrogen and 
carbon monoxide. With high-pressure oxygen avail-
able, these will burn to carbon dioxide and release 
an undeterminable amount of heat that did not 
come from the initial reaction of interest. This sec-
ondary combustion might give off nearly as much 
energy as the preliminary explosion. To eliminate 
this concern, it is recommended that the user ll the 
bomb with nitrogen and then release the valve to 
ush the vessel, repeating this process twice. This 
will reduce the atmospheric oxygen trapped in the 
bomb to a level that is insignicant, relative to the 
primary reaction. It is advisable to leave a residual 
pressure of at least 5 atmospheres on the bomb in 
order to seal the inlet check valve.
Operation
Setting the Calorimeter Parameters
When using the 1104 Oxygen Combustion Vessel in 
a calorimeter, the user must ensure that the correct 
User ID is set in order to obtain the appropriate op-
erating parameters. For the 6200 Isoperibol Calo-
rimeter, the User ID must be “62-1104”. For the 6100 
Compensated Jacket Calorimeter, the User ID must 
be “61-1104”.
1.  From the Main Menu in the 6000 Series calorim-
eter, select “Program Info & Control”
2.  From Program Info & Control, select “User Setup 
ID”
3.  Press “Clear”
4.  Enter “62-1104” (or “61-1104”)
5.  Press “Enter”
6.  Press “Reload User Default Settings” and follow 
the instrument prompts
For older models, please contact Parr for the appro-
priate software.










