Instruction Manual
Manuals
Brands
Parr Instrument Manuals
Measuring instruments
1104
1
2
3
4
5
6
7
8
9
10
1104 Oxygen Combustion
Vessel
Parr Instrument Company
10
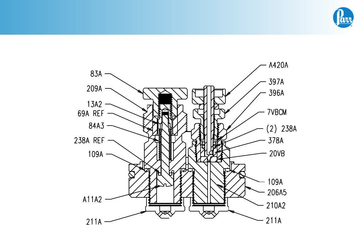
1104 Oxygen Combustion V
essel - Head Assembly
1
...
...
8
9
10
11
12