Instruction manual

EN
Flying Tips and Repairs (continued)
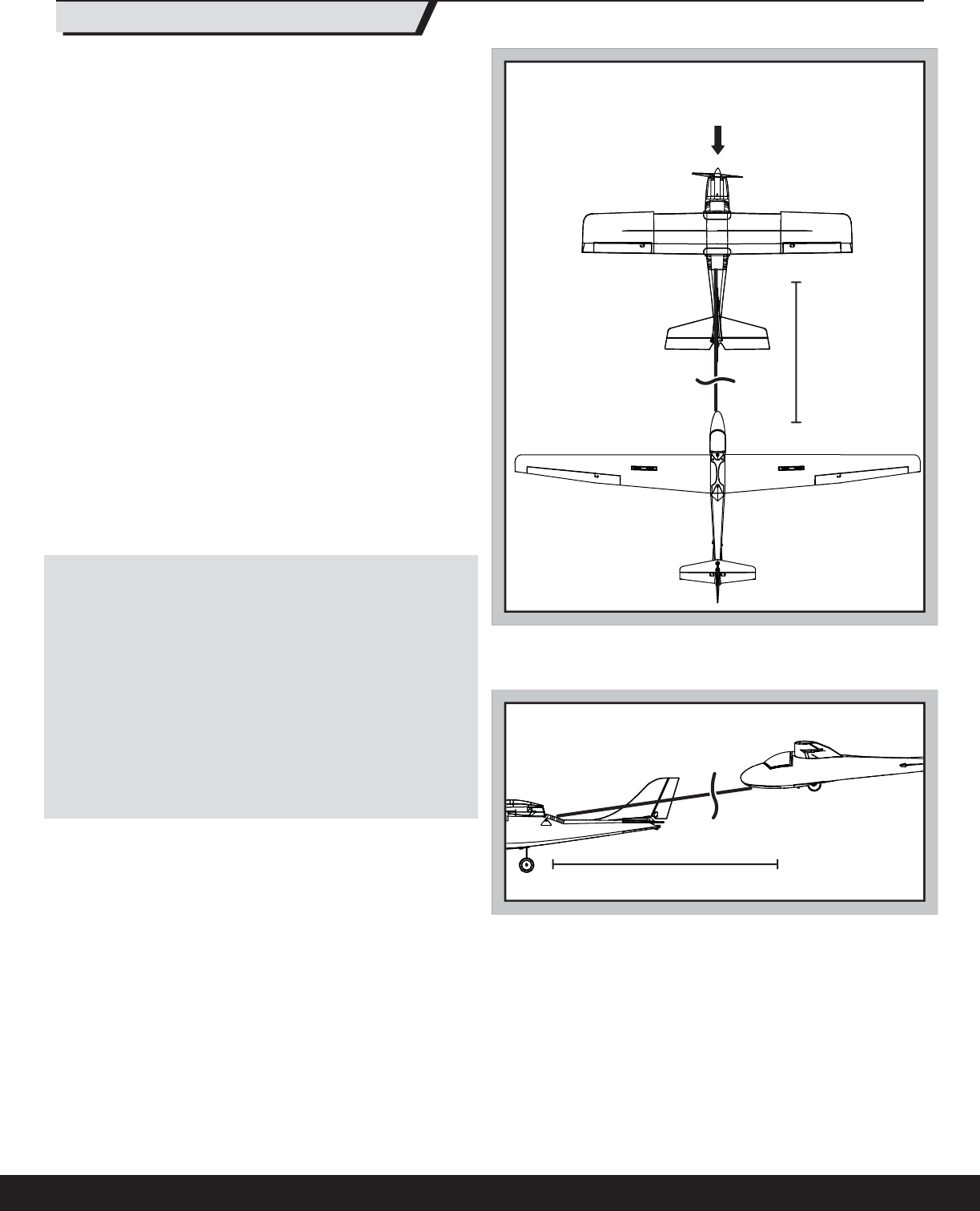
Towing
Towing is only recommended for advanced pilots. While towing, be sure to
fl y in a large, open space. Also be sure that you have two pilots, one for the
sailplane, and one for the towplane.
This sailplane is designed to be towed from a smooth runway by a sport plane
(300 watt or greater), such as the E-fl ite
®
Apprentice
®
S. A tow line (approxi-
mately 40 feet (12.2 m) long) is available separately (PKZ6623).
1. Position both aircraft near each other on the runway, facing into the wind.
2. Tie the tow line to the rear wing mount posts on an Apprentice S, or at the
trailing edge of the wing on the towplane fuselage. Insert the loop of the
other end of the tow line to the release mechanism under the nose of the
Ka-8 (see Tow Release Installation section).
3. Space the aircraft apart so there is no slack in the tow line. If there is slack,
it can result in damage to one or both of the aircraft.
4. Ensure that the tow line is resting above the towplane’s horizontal tail so
the towplane can pull the sailplane into the air safely.
5. Quickly apply power to the towplane once both pilots are ready for takeoff.
6. Keep the towplane on the ground until the sailplane is 2–3 ft (0.9–1.2 m)
above the towplane.
7. Slowly apply elevator to lift the towplane off of the ground. Be sure to
keep the towplane under the sailplane until you have reached your release
altitude.
Tips for Towing
• Continually communicate with the pilot of the towplane and make sure
they are aware when you are having diffi culty, or are releasing the tow line.
• Ensure that you keep the sailplane’s wings level at all times. You should not
try to turn the sailplane, but rather allow the tow plane to drag the sailplane
around turns.
• Avoid slack in the line while fl ying. Slack can cause the tow plane to
abruptly pull the sailplane in unexpected directions. This can cause numer-
ous problems and could result in a crash of one or both aircraft.
• The tow release location makes the Ka-8 naturally rise behind the tow-
plane without use of the elevator. Down elevator accelerates the sailplane
and makes undesirable slack in the tow line.
• Make only wide sweeping turns. Tight turns will result in the sailplane
becoming unstable.
If a problem occurs, the pilot of the sailplane should release the tow line from
the nose of his sailplane so that both aircraft can be safely landed.
NOTICE: Crash damage is not covered under warranty.
If there is a break in the tow line, tie the ends together securely or replace the
line when needed.
Wind
40 ft
(12.2 m)
Recommended Aircraft
Alignment for Takeoff
Recommended Aircraft Towing Positions When Flying
40 ft (12.2 m)
12