m

35
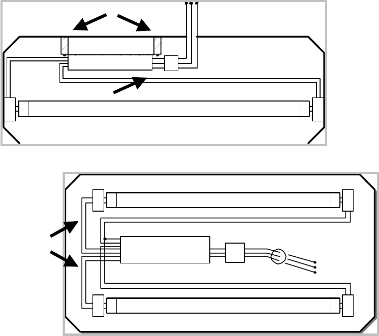
Bad example
The electrical connection between the ECG and the luminaire is poor.
Unnecessary crossovers have been created leading to poorer and
therefore higher resistance connection with earth. This arrangement is also
poor from a thermal point of view.
3.2.2.7 Good wiring
arrangement for 2-
lamp luminaires
3.2.2.8 Luminaires with
reflector and/or
specular louvres
These parts must be made of metal or at least have a surface (i.e.
anodized) with excellent electrical conductivity.
a) The reflector acts as an effective shield
Provided the reflector has a very good connection to the central
earthing point, the lamp is effectively shielded and there can be no
interaction with the ECG and the wiring. Electromagnetic fields are also
effectively shielded.
The reflector should be connected by a short cable or screw
connection to the body. A poor contact or a loss of contact at this
point would have an adverse effect on the EMC behaviour of the
complete luminaire and could also impair starting.
Über
g
än
g
e
Hot wires
Hot wires










