Operation Manual
Table Of Contents
- Italiano
- Istruzioni importanti per la sicurezza
- Precauzioni
- Accessori in dotazione
- Caratteristiche
- Pannello frontale e pannello posteriore
- Telecomando
- Informazioni sui sistemi di Home Theater
- Collegamento del ricevitore AV
- Collegamento dei diffusori
- Biamplificazione dei diffusori anteriori A
- Ponticellatura dei diffusori anteriori A
- Biamplificazione dei diffusori anteriori B
- Ponticellatura dei diffusori anteriori B
- Collegamento dell’antenna
- Informazioni sui collegamenti AV
- Collegamento di apparecchi dotati di interfaccia HDMI
- Collegamenti audio e video
- Quali collegamenti è opportuno utilizzare?
- Collegamento di un televisore o proiettore
- Collegamento di lettori DVD
- Collegamento di un videoregistratore o di un masterizzatore DVD per la riproduzione
- Collegamento di un videoregistratore o di un masterizzatore DVD per la registrazione
- Collegamento di un ricevitore via satellite, via cavo, decoder terrestre o di un’altra sorgente video
- Collegamento di una console per giochi
- Collegamento di una videocamera o altro dispositivo
- Collegamento di un lettore CD o giradischi
- Collegamento di un registratore a cassette, di un masterizzatore di CDR o MiniDisc, o di un registratore DAT
- Collegamento di un finale di potenza
- Collegamento di un RI Dock
- Collegamento di un dispositivo opzionale Universal Port
- Collegamento di apparecchi RI Onkyo
- Collegamento del cavo di alimentazione
- Accensione del ricevitore AV
- Impostazione per il primo utilizzo
- Impostazione del monitor
- Selezione della lingua utilizzata per i menu di impostazione su schermo
- Utilizzo dei menu di impostazione su schermo
- Utilizzo del display per modificare le impostazioni
- Impostazione di Uscita monitor
- Impostazione dell’ingresso video
- Impostazione dell’ingresso audio digitale
- Setup Ingresso audio analogico
- Impostazioni dei diffusori
- Impostazione del formato televisivo
- Impostazione del passo di frequenza AM
- Modifica del display di ingresso
- Correzione ambientale e impostazione dei diffusori Audyssey MultEQ(R) XT
- Funzioni di base
- Selezione della sorgente di ingresso
- Regolazione dei toni bassi e alti
- Visualizzazione delle informazioni relative alla sorgente
- Impostazione della luminosità del display
- Silenziamento del ricevitore AV
- Utilizzo della funzione di spegnimento ritardato
- Selezione della disposizione diffusori
- Utilizzo delle cuffie
- Utilizzo di Easy Macro
- Ascolto della radio
- Opzione UP-A1 Dock per iPod su Universal Port
- Registrazione
- Utilizzo dei modi di ascolto
- Impostazioni avanzate
- Menu di impostazione su schermo
- Assegnazione ingresso/uscita
- Impostazione dei diffusori
- Regolazione audio
- Impostazione sorgente
- Assegnazione dei modi di ascolto alle sorgenti di ingresso
- Impostazioni varie (volume/impostazione su schermo)
- Impostazione dell’hardware
- Impostazione Bloccato
- Formati dei segnali di ingresso digitali
- Utilizzo delle impostazioni audio
- NET/USB
- Multi Zone
- Controllo di altri componenti
- Codici di controllo del telecomando preprogrammati
- Ricerca del codice telecomando
- Immissione dei codici telecomando
- Codici telecomando per gli apparecchi Onkyo collegati tramite RI
- Ripristino dei tasti REMOTE MODE
- Reimpostazione del telecomando
- Controllo di un televisore
- Controllo di un lettore DVD o di un registratore DVD
- Controllo di un videoregistratore (VCR) o di un registratore video personale (PVR)
- Controllo di un ricevitore satellitare o via cavo
- Controllo di un lettore CD, di un masterizzatore CD o di un registratore MD
- Controllo di un RI Dock
- Controllo di un registratore a cassette
- Impostazione delle attività
- Apprendimento dei comandi
- Utilizzo di macro normali
- Risoluzione dei problemi
- Caratteristiche tecniche (TX-NR3007)
- Caratteristiche tecniche (TX-NR5007)
- Tabella delle risoluzioni video
- Deutsch
- Wichtige Sicherheitshinweise
- Vorsichtsmaßnahmen
- Lieferumfang
- Funktionen
- Front- und Rückseite
- Fernbedienung
- Apropos Heimkino
- Anschließen des AV-Receivers
- Anschließen der Lautsprecher
- Verwendung zweier Endstufen für die Front-Lautsprecher A
- Überbrücken der Front-Lautsprecher A
- Verwendung zweier Endstufen für die Front-Lautsprecher B
- Überbrücken der Front-Lautsprecher B
- Anschließen einer Antenne
- Apropos AV-Verbindungen
- Anschließen von Geräten mit HDMI
- Anschließen von Audio- und Videogeräten
- Welche Anschlüsse sollten genutzt werden?
- Anschließen eines Fernsehgeräts oder Projektors
- Anschließen eines DVD-Players
- Anschließen eines Video- oder DVD-Recorders (Wiedergabe)
- Anschließen eines Video- oder DVD-Recorders (Aufnahme)
- Anschließen eines Satelliten- oder Kabeltuners, terrestrischen Decoders oder anderer Videogeräte
- Anschließen einer Spielkonsole
- Anschließen eines Camcorders oder anderen Geräts
- Anschließen eines CD-Players oder Plattenspielers
- Anschließen eines Kassetten-, CD-R-, MiniDisc- oder DAT-Recorders
- Anschluss eines Leistungsverstärkers
- Anschließen einer RI-Dockingstation
- Anschließen eines optionalen Universal Port
- Anschliesen RI-kompatibler Gerate von Onkyo
- Anschließen des Netzkabels
- Einschalten des AV-Receivers
- Erste Inbetriebnahme
- Monitor-Einstellungen
- Auswahl der Sprache für die Bildschirmmenüs
- Verwendung der Bildschirmmenüs
- Ändern von Einstellungen am Display
- Einstellung von Monitor-Ausgang
- Videoeingang-Einstellungen
- Einrichten digitaler Audioeingänge
- Belegen des Analoge audio- ingangens
- Lautsprecher-Einstellungen
- TV-Format-Einstellungen
- MW-Frequenzintervall-Einstellungen
- Ändern der Anzeige für die Eingangsquelle
- Audyssey MultEQ(R) XT Raumakustik- Korrektur und Lautsprecherkonfiguration
- Grundlegende Bedienung
- Anhören eines Radioprogramms
- Universal Port Option UP-A1 Dock für den iPod
- Aufnahme
- Verwendung der Wiedergabemodi
- Erweiterte Einstellungen
- NET/USB
- Multi Zone
- Fernbedienung anderer Geräte
- Vorprogrammierte Fernbedienungscodes
- Nachschlagen der Fernbedienungscodes
- Eingabe von Fernbedienungscodes
- Fernbedienungscodes fur Onkyo- Gerate mit Anschluss uber RI
- Zurückstellen der REMOTE MODE- Tasten
- Initialisieren der Fernbedienung
- Bedienung eines Fernsehgeräts
- Bedienung eines DVD-Players oder DVD-Recorders
- Bedienung eines Video- oder Personal Video-Recorders
- Bedienung eines Satelliten- oder Kabeltuners
- Bedienung eines CD-Players, CD-Recorders oder MD-Recorders
- Bedienung einer RI-Dockingstation
- Bedienung eines Kassettendecks
- Einrichten von „Activities“
- Erlernen von Befehlen
- Verwendung von normalen Makros
- Fehlersuche
- Technische Daten (TX-NR3007)
- Technische Daten (TX-NR5007)
- Übersicht der Bildauflösungen

It-33
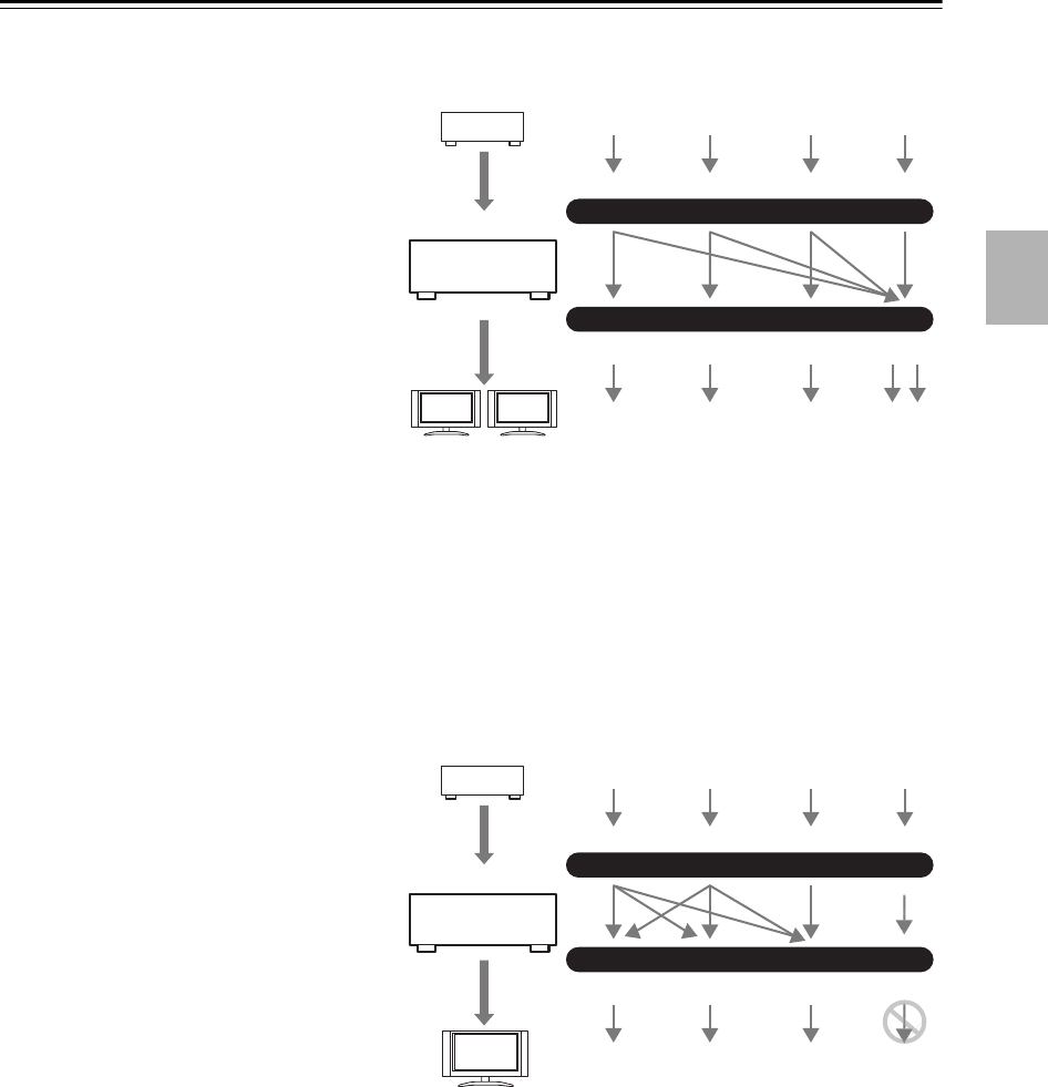
Collegamento del ricevitore AV—Continua
■ Impostazione “Uscita monitor” impostata su “Entrambi”, “Entrambi (Principal)” o “Entrambi
(sub)”
Con l’fimpostazione “Uscita monitor” impostata
su “Entrambi”, “Entrambi (Principal)” o
“Entrambi (sub)” (vedere pagina 52), il flusso dei
segnali video d’ingresso avviene attraverso il
ricevitore AV come illustrato e viene effettuata
l’upconversion delle sorgenti video composito, S-
Video e video component per entrambe le uscite
HDMI. Utilizzare l’impostazione “Entrambi”,
“Entrambi (Principal)” o “Entrambi (sub)” se
si collegano HDMI OUT MAIN e HDMI OUT
SUB del ricevitore AV ai televisori.
I segnali delle uscite video composito, S-Video e
video component transitano dai rispettivi ingressi
senza alcuna modifica.
Entrambi: I segnali video vengono emessi da
entrambe le uscite HDMI alla risoluzione più
bassa delle due. Non è possibile selezionare
l’impostazione “Risoluzione”. L’impostazione di
regolazione dell’immagine sarà identica a quella per “HDMI Principale”.
Entrambi (Principal): I segnali video vengono emessi da entrambe le uscite HDMI ma HDMI OUT MAIN avrà la
priorità. In base alla risoluzione, i segnali video potrebbero non essere emessi da HDMI OUT SUB.
Entrambi (sub): I segnali video vengono emessi da entrambe le uscite HDMI ma HDMI OUT SUB avrà la priorità. In
base alla risoluzione, i segnali video potrebbero non essere emessi da HDMI OUT MAIN.
Nota:
L’impostazione “Uscita monitor” si porterà automaticamente su “Analogico” (vedere pagina 52) se non si è collegati a
entrambe le uscite quando viene selezionato “Entrambi” o se non si è collegati a un’uscita prioritaria quando viene
selezionato “Entrambi (Principal)” o “Entrambi (sub)”.
■ Impostazione “Uscita monitor” impostata su “Analogico”
Con l’impostazione “Uscita monitor” impostata
su “Analogico” (vedere pagina 52), il flusso dei
segnali video d’ingresso avviene attraverso il
ricevitore AV come illustrato e viene effettuata
l’upconversion delle sorgenti video composito e
S-Video per l’uscita video component. Utilizzare
questa impostazione se si collega
COMPONENT VIDEO MONITOR OUT del
ricevitore AV al televisore.
Il video composito viene sottoposto ad
upconversion in S-Video e S-Video viene
sottoposto a downconversion in video composito.
Si noti che queste conversioni si applicano solo
alle uscite MONITOR OUT V e S, non a quelle
VCR/DVR OUT V e S.
I segnali delle uscite video composito, S-Video e
video component transitano dai rispettivi ingressi
senza alcuna modifica.
Questo flusso del segnale si applica anche quando “Risoluzione” è impostato su “Attraverso” (vedere pagina 52).
IN
MONITOR OUT
Lettore DVD/BD, ecc.
Ricevitore AV
Televisore, proiettore, ecc.
Composito
Composito
S-Video
S-Video
Component
Component
Diagramma di flusso del segnale video
HDMI
HDMI
IN
MONITOR OUT
Lettore DVD/BD, ecc.
Ricevitore AV
Televisore, proiettore, ecc.
Composito
Composito
S-Video
S-Video
Component
Component
Diagramma di flusso del segnale video
HDMI
HDMI










