Instruction Manual FM/AM Tuner T-433

10
Connecting the T-433
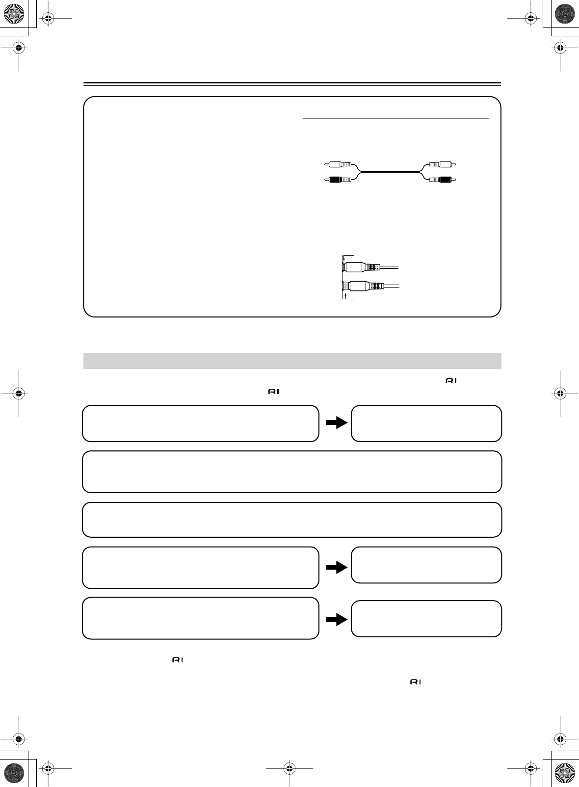
If you connect another component from the Onkyo Separate Collection to the T-433 with the supplied and audio
cables, you can use the following system functions. cables are special cables solely for use with Onkyo products.
• Simply connecting an cable will not enable the system functions. You must make an audio connection as well.
See page 11 for more information.
• See the instruction manual supplied with each component for more information about the system functions.
About the System Functions
Before Making Any Connections
• Refer to the instructions that came with the com-
ponent you are connecting.
• Do not plug in the power cord until all other con-
nections are complete.
• Do not bind audio cables with power cords and
speaker cables. Doing so may adversely affect the
sound quality.
•To prevent interference, keep power cords and
speaker cables as far away as possible from the
tuner’s antennas.
RCA Audio Connection Color Coding
• Red connectors are used for the right channel, and
white connectors are used for the left channel.
• Push each plug in all the way to make a good con-
nection (loose connections can cause noise or mal-
functions).
Left (white)
Right (red)
L
R
Wrong!
Right!
Connecting components from the Onkyo Separate Collection.
See the amplifier’s instruction manual.
Auto Power On
When you turn on the power or start playback on the T-433, the amplifier will turn on automatically. (The ampli-
fier’s POWER switch must be set to ON for this to work.)
Direct Change
When a preset is selected, or the FM or AM band is selected, the amplifier will automatically select the tuner input.
Remote Control Operation
You can control the T-433 by using the A-933’s remote con-
troller.
See page 8 for more information.
Program Timer
You can program the T-433’s timers to automatically start play-
back or recording at a specified time.
See page 22 for more information.
*En_T433_02.fm Page 10 Tuesday, February 15, 2005 3:09 PM










