Operation Manual
Table Of Contents
- A. When the power-supply cord or plug is damaged,
- B. If liquid has been spilled, or objects have fallen into the apparatus,
- C. If the apparatus has been exposed to rain or water,
- D. If the apparatus does not operate normally by following the operating instructions. Adjust onl...
- E. If the apparatus has been dropped or damaged in any way, and
- F. When the apparatus exhibits a distinct change in performance this indicates a need for service.
- Features
- Getting to Know the HTX-22HD
- Remote Controller
- Connecting the Speakers
- Connecting AV Components
- Turning On the HTX-22HD
- First Time Setup
- Playing Your Components
- Using the Listening Modes
- Advanced Setup
- Troubleshooting
- Specifications

16
Connecting the Speakers
Thanks to the HTX-22HD’s superb capabilities, you can enjoy surround sound with a real sense of
movement in your own home—just like being in a movie theater or concert hall. You can enjoy DVDs
featuring Dolby Digital or DTS. With analog or digital TV, you can enjoy Dolby Pro Logic IIx, DTS
Neo:6, or Onkyo’s original DSP listening modes.
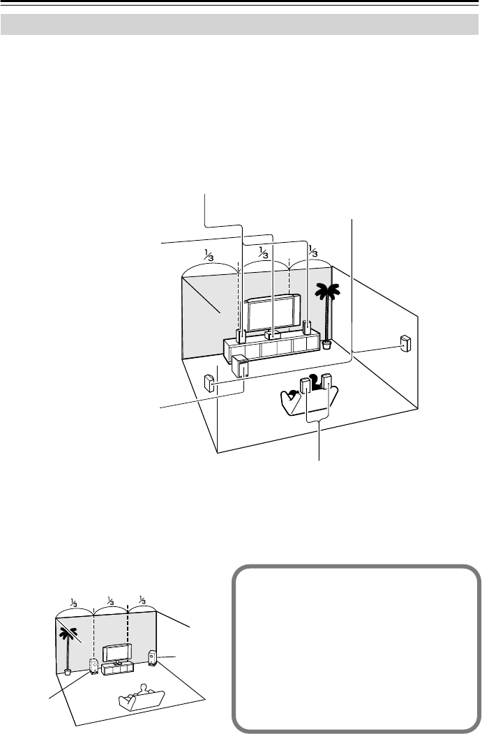
Speaker positions for a 7.1-channel system are shown below.
Enjoying Home Theater
Corner
position
1/3 of wall
position
Surround back left and right speakers (not supplied
with the HTX-22HD)
These speakers are necessary to enjoy Dolby Digital EX,
DTS-ES Matrix, DTS-ES Discrete, etc. They enhance the
realism of surround sound and improve sound localiza-
tion behind the listener. Position them behind the listener
about 2–3 feet (60–100 cm) above ear level.
(*power amp and speakers required)
Front left and right speakers (HTX-22HDST)
These output the main sound. Their role in a home the-
ater is to provide a solid anchor for the sound image. They
should be positioned facing the listener at about ear level,
and equally spaced from the TV. Angle them inward
slightly so as to create a triangle, with the listener at the
apex.
Notes:
The HTX-22HD Digital Surround System consists
of an Amp/Subwoofer and two front speakers.
Designed especially for use with the HTX-22HD,
the optional Onkyo SKS-11 speaker package
consists of a center speaker and two surround
speakers that can be connected directly to the
HTX-22HD.
For 7.1-channel surround, you’ll need a pair of
surround back speakers and a power amp to
drive them, which can be connected to the HTX-
22HD’s SURROUND BACK PRE OUT jacks (see
page 20).
Center speaker (optional SKS-11)
This speaker enhances the front left and
right speakers, making sound move-
ments distinct and providing a full sound
image. For movies it’s used mainly for
dialog.
Position it close to your TV (preferably
on top) facing forward at about ear level,
or at the same height as the front left
and right speakers.
Surround left and right speakers (optional
SKS-11)
These speakers are used for precise sound
positioning and to add realistic ambience.
Position them at the sides of the listener, or
slightly behind, about 2–3 feet (60–100 cm)
above ear level. Ideally they should be equally
spaced from the listener.
Subwoofer (HTX-22HDPAW Amp/
Subwoofer)
The subwoofer handles the bass sounds of
the LFE (Low-Frequency Effects) channel.
The volume and quality of the bass output
from your subwoofer will depend on its posi-
tion, the shape of your listening room, and
your listening position. In general, a good
bass sound can be obtained by installing the
subwoofer in a front corner, or at one-third the
way along the front wall, as shown.
Tip: To find the best position for your sub-
woofer, while playing a movie or some music
with good bass, experiment by placing your
subwoofer at various positions within the
room and choose the one that provides the
most satisfying results.
HTX-22HD_En.book Page 16 Monday, April 7, 2008 2:03 PM










