User's Manual
Manuals
Brands
Omron Automotive Electronics Korea Manuals
Automotive
CAR ALARM RECEIVER
1
2
3
4
5
6
7
- 3 -
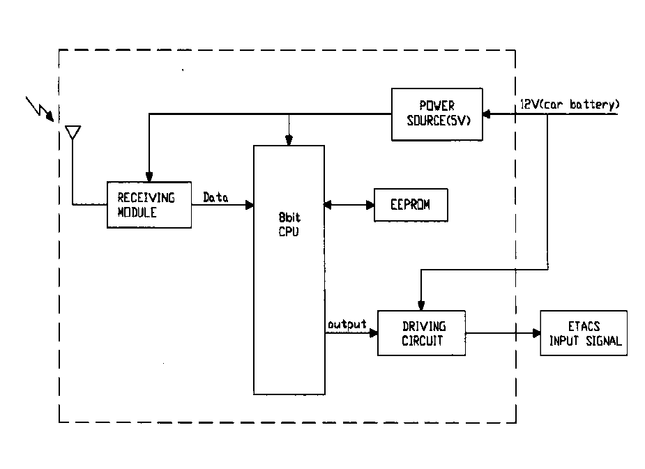
3. Bl
oc
k diagra
m
T
his is the
bl
o
ck diagr
am c
o
ncer
ning to the r
eceiver
.
figur
e 3.
1 bl
o
ck
diagr
am o
f
the r
eceiver
1
...
2
3
4
5
6
7