Instruction manual

P10
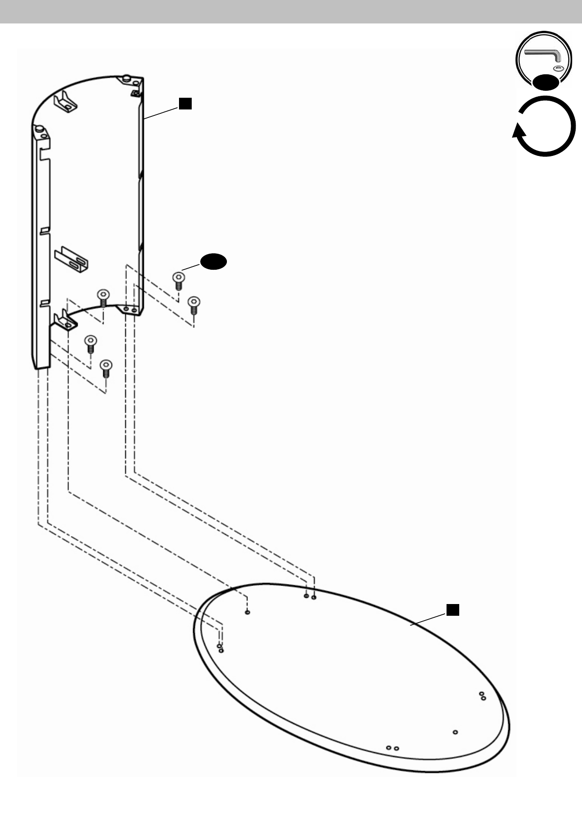
STEP 2
X5
4
1
P-A
P-E
Build item on a soft surface to prevent damage.
Construya el soporte sobre una superficie suave para evitar que sufra daños.
Assembler l’article sur une surface douce pour éviter de l’endommager.
Komponente auf eine weiche Unterlage stellen, um Beschädigungen zu vermeiden.
Monteer item op een zacht oppervlak om schade te voorkomen.
Per il montaggio, usare una superficie morbida onde evitare danni.
Element montować na miękkiej powierzchni w celu uniknięcia zniszczenia.
Abyste předešli poškození, postavte položku na měkký povrch.
A sérülések elkerülése érdekében az elemet puha felületen szerelje össze.
Στηρίξτε το αντικείμενο σε μία απαλή επιφάνεια για να αποτραπεί η πρόκληση φθοράς.
Montar o artigo sobre uma superfície suave para evitar danos.
Saml enheden på en blød overflade for at undgå skader.
Rakenna kohde pehmeällä alustalla vaurioiden välttämiseksi.
Placera objektet på en mjuk yta för att förhindra skada.
Construiţi articolul pe o suprafaţă moale pentru a preveni deteriorarea.
Сглоби изделието върху мека повърхност, за да се избегне увреждане.
Vigastuste vältimiseks pange ese kokku pehmel alusel.
Lai izvairītos no bojājuma, montējiet izstrādājumu uz mīkstas virsmas.
Kad nepažeistumėte, elementą surinkite ant minkšto paviršiaus
Element sestavite na mehki površini, da preprečite poškodbe.
Aby ste predišli poškodeniu, postavte položku na mäkký povrch.
Производите сборку на мягкой поверхности во избежание повреждений.
Zarar görmesini önlemek için öğeyi yumuşak bir yüzeye kurun.
Sett sammen elementet på et mykt underlag for å hindre skade.
ﻒﻠﺘﻟا يدﺎﻔﺘﻟ ﻢﻋﺎﻧ ﺢﻄﺳ قﻮﻓ ﺮﺼﻨﻌﻟا ﺐﻴآﺮﺗ
在柔软表面上组装器件以防止损坏。
アイテムを破損しないようにするため、傷のつきにくい作業台で組み立ててください。










