User manual
Manuals
Brands
Nortel Networks Manuals
Telephones
Cell Phone 744X
41
42
43
44
45
46
47
48
49
50
Table Of Contents
Contents
Getting Started
Handset information
Battery information
Installing battery
Charging battery
Checking battery capacity
Battery disposal
About your 743X/744X handset
Handset display
Display softkeys
Display backlight
Basic handset options
Turning the handset ON/OFF
Adjusting speaker volume
Changing Menu Language
Customizing handset
Profile set-up
Description of profile functions
Making and answering calls
Dial directly
On hook dialling (pre-dial)
Dial from your phone book
Redial
Answering calls
Hold a call
Making or answering a second call
To answer a second call while on another call
To hold a call and make a second call
To return to the first call
Mute a call
Turn on loudspeaker
Replying to messages
To view, reply and listen to your messages
More handset options
Moving around in the Menu
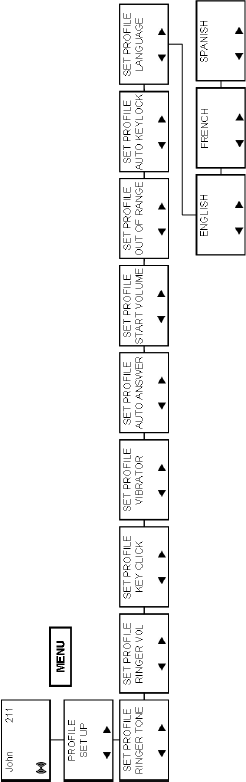
Menu structure
Using phone book
Using the alphanumeric keyboard
Storing a number
Reading BOOK numbers
Changing numbers
Deleting numbers
Using text messages (MSF)
Reading a MSF mail
Replying a MSF mail
Forwarding a MSF mail
Deleting all MSF mails
Deleting a MSF mail
Locking/unlocking a MSF mail
Writing a MSF mail
Shortcuts
General information
Troubleshooting
The telephone freezes.
The telephone does not ring.
Not possible to turn on the telephone.
The telephone turn off when receiving a call and going off-hook.
Information
Error information
Technical specification
Important Safety Instructions and Product Information
Intrinsic safety
45
Figure 1
Menu language
1
...
...
43
44
45
46
47
...
...
52