User Guide
Table Of Contents
- Nortel WLAN Security Switch 2300 Series Configuration Guide
- Contents
- How to get Help
- Introducing the Nortel WLAN 2300 System
- Using the Command-Line Interface
- Configuring AAA for Administrative and Local Access
- Configuring and Managing Ports and VLANs
- Configuring and Managing Ports
- Configuring and Managing VLANs
- Managing the Layer 2 Forwarding Database
- Port and VLAN Configuration Scenario
- Configuring and Managing IP Interfaces and Services
- MTU Support
- Configuring and Managing IP Interfaces
- Configuring the System IP Address
- Configuring and Managing IP Routes
- Managing the Management Services
- Configuring and Managing DNS
- Configuring and Managing Aliases
- Configuring and Managing Time Parameters
- Setting the Time Zone
- Configuring the Summertime Period
- Statically Configuring the System Time and Date
- Displaying the Time and Date
- Configuring and Managing NTP
- Adding an NTP Server
- Removing an NTP Server
- Changing the NTP Update Interval
- Resetting the Update Interval to the Default
- Enabling the NTP Client
- Displaying NTP Information
- Managing the ARP Table
- Pinging Another Device
- Logging In to a Remote Device
- Tracing a Route
- IP Interfaces and Services Configuration Scenario
- Configuring SNMP
- Overview
- Configuring SNMP
- Displaying SNMP Information
- Configuring and Managing Mobility Domain Roaming
- Configuring User Encryption
- Configuring AP access points
- AP Overview
- Configuring AP access points
- Specifying the Country of Operation
- Configuring a Template for Automatic AP Configuration
- Configuring AP Port Parameters
- Configuring AP-WSS Security
- Configuring a Service Profile
- Configuring a Radio Profile
- Configuring Radio-Specific Parameters
- Mapping the Radio Profile to Service Profiles
- Assigning a Radio Profile and Enabling Radios
- Disabling or Reenabling Radios
- Displaying AP Information
- Displaying AP Configuration Information
- Displaying a List of Distributed APs
- Displaying a List of Distributed APs that Are Not Configured
- Displaying Connection Information for Distributed APs
- Displaying Service Profile Information
- Displaying Radio Profile Information
- Displaying AP Status Information
- Displaying AP Statistics Counters
- Configuring RF Auto-Tuning
- Wi-Fi Multimedia
- Configuring and Managing Spanning Tree Protocol
- Configuring and Managing IGMP Snooping
- Configuring and Managing Security ACLs
- About Security Access Control Lists
- Creating and Committing a Security ACL
- Mapping Security ACLs
- Modifying a Security ACL
- Using ACLs to Change CoS
- Enabling Prioritization for Legacy Voice over IP
- Security ACL Configuration Scenario
- Managing Keys and Certificates
- Why Use Keys and Certificates?
- About Keys and Certificates
- Creating Keys and Certificates
- Choosing the Appropriate Certificate Installation Method for Your Network
- Creating Public-Private Key Pairs
- Generating Self-Signed Certificates
- Installing a Key Pair and Certificate from a PKCS #12 Object File
- Creating a CSR and Installing a Certificate from a PKCS #7 Object File
- Installing a CA’s Own Certificate
- Displaying Certificate and Key Information
- Key and Certificate Configuration Scenarios
- Configuring AAA for Network Users
- About AAA for Network Users
- AAA Tools for Network Users
- Configuring 802.1X Authentication
- Configuring Authentication and Authorization by MAC Address
- Configuring Web-based AAA
- Configuring Last-Resort Access
- Configuring AAA for Users of Third-Party APs
- Assigning Authorization Attributes
- Overriding or Adding Attributes Locally with a Location Policy
- Configuring Accounting for Wireless Network Users
- Displaying the AAA Configuration
- Avoiding AAA Problems in Configuration Order
- Configuring a Mobility Profile
- Network User Configuration Scenarios
- Configuring Communication with RADIUS
- Managing 802.1X on the WSS Switch
- Managing Sessions
- Managing System Files
- Rogue Detection and Countermeasures
- About Rogues and RF Detection
- Summary of Rogue Detection Features
- Configuring Rogue Detection Lists
- Enabling Countermeasures
- Disabling or Reenabling Active Scan
- Enabling AP Signatures
- Disabling or Reenabling Logging of Rogues
- Enabling Rogue and Countermeasures Notifications
- IDS and DoS Alerts
- Displaying RF Detection Information
- Appendix A: Troubleshooting a WS Switch
- Fixing Common WSS Setup Problems
- Recovering the System Password
- Configuring and Managing the System Log
- Running Traces
- Using Show Commands
- Remotely Monitoring Traffic
- Capturing System Information for Technical Support
- Appendix B: Supported RADIUS Attributes
- Appendix C: Mobility Domain Traffic Ports
- Appendix D: DHCP Server
- Glossary
- Index
- Command Index

352 Configuring and Managing Security ACLs
320657-A
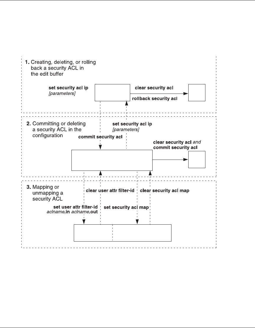
Overview of Security ACL Commands
Figure 16 provides a visual overview of the way you use WSS Software commands to set a security ACL, commit the
ACL so it is stored in the configuration, and map the ACL to a user session, VLAN, port, virtual port, or Distributed AP.
Figure 16: Setting Security ACLs
840-9502-0070
ACLs in
edit buffer
null
Commited ACLs
null
ACLs mapped to ports,
VLANs, and virtual ports
ACLs mapped
to users










