Instructions / Assembly

Res-Up
®
Feeder
Installation Instructions
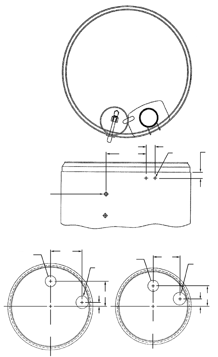
Figure 1
Figure 2
Figure 3
Hole for Brine
Draw Tube
Riser Pipe Hole
(9/16” Dia.)
Riser Pipe Hole
(9/16” Dia.)
(For 434 & 464 Brine
Valves only)
Drill This Hole
(5/8”)
4” DIA.
BRINE WELL CAP
3-1/2” DIA.
BRINE WELL CAP
6-1/16
1-3/8
(2) 1/4” Dia.
Holes
7/8
1-5/16
1-5/8
Drill This Hole
(5/8”)
3/8
1-1/4
1
1/4
#51568 6/08
WATERGROUP INC. WATERGROUP COMPANIES INC.
FRIDLEY, MN REGINA, SK • CAMBRIDGE, ON
1-800-354-7867 1-877-288-9888
www.watergroup.com
1. Remove top cover, fill the
Res-Up
®
Feeder (plastic con-
tainer) to the top with water so
that the wick retaining clip,
tube and wick are wetted,
allow to soak for 15 minutes
or more.
2. Empty water and pull tube
and wick through Feeder until
slack is removed from inside.
The outlet end tube and wick
must be below the bottom
level of the Res-Up
®
Feeder.
3. Drill two 1/4” holes in brine
tank as shown in Figure 2.
4. Drill a 5/8” hole in the brine
well cap as shown in Figure 3.
5. Clip mounting bracket over
feeder with “hooks” pointed
up. Insert end of tube in the
brine well cap and mounting
bracket with the 1/4” holes in
the brine tank, rotating feeder
downward into position as
shown in Figure 1.
6. Fill Feeder with Res-Up
®
Cleaner to “Fill Line” on label.
7. Release cover on Feeder and
automatic feeding will occur in
a few hours.

