User Guide

5
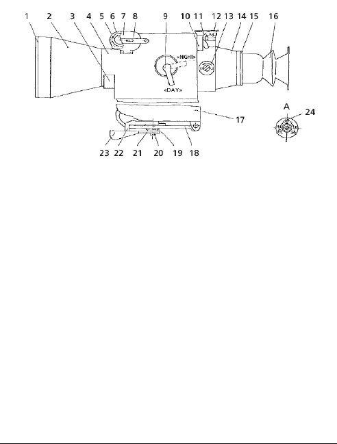
Figure 2
1 – Light filter 2 – Objective
3 – Hand wheel for of reticle
brightness
4 – Switching mechanism
5 – Battery pack 6 – Battery
7 – Battery compartment
cover
8 – Latch
9 – Handle DAY/ NIGHT 10 – Switch ON / OFF
11 – Elevation scale 12 – Elevation adjustment
hand wheel
13 – Windage adjustment
screw
14 – Eyepiece
15 – Clutch 16 – Eyepiece Rubber
17 – Side mount 18 – Mount
19 – Washer 20 – Clutching screw
21 – Latch 22 – Lever
23 – Handle










