User Manual
Table Of Contents
- Contact Us
- Introduction
- Home and Android Interface
- LinkRunner 10G Settings and Tools
- Software Management
- LinkRunner 10G Testing Applications
- AutoTest App and Profiles
- Ping/TCP Test App
- Capture App
- Discovery App
- Path Analysis App
- Performance Test App
- iPerf Test App
- Link-Live Cloud Service
- Cable Test App
- Specifications and Compliance

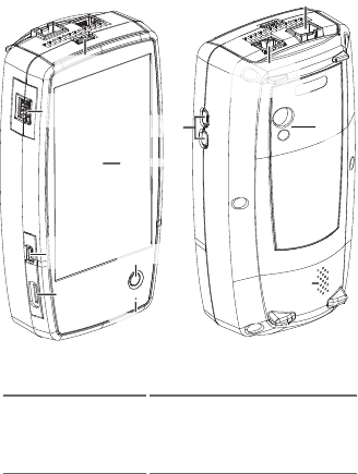
Buttons and Ports
Button and port functions on your LinkRunner
unit are described below.
1G/10G Fiber Port
RJ-45 Cable Test
and Management
Port
USB Type-A
Port
Micro SD
Card Slot
USB Type-C
and Power
Port
Touchscreen
Microphone
Power Button
and LED
Volume
Buttons
Speaker
RJ-45 Ethernet
Port with Link
and Activity LEDs
Camera
and
Flash
FEATURE DESCRIPTION
Fiber Port
1G/10GBASE-X
Connects to an SFP adapter
and fiber cable for network
testing. NOTE: 100FX SFPs are
not supported.
Introduction
19










