User Guide
Manuals
Brands
Multiquip Manuals
Other
SPs20H
21
22
23
24
25
26
27
28
29
30
P
A
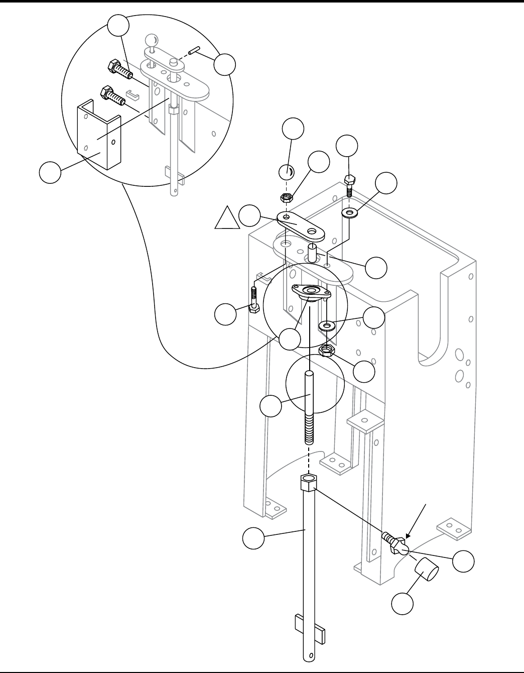
GE 28 — SP2S20H P
A
VEMENT SA
W • OPERA
TION AND P
ARTS MANU
AL — REV
. #0 (02/17/12)
MANUAL RAISE AND LOWER ASSY
. (20 IN.)
8
7
6
1
1
9
13
9
4
1
14
16
15
17
3
B
LUBRICA
TION
POINT
2
12
5
1
...
...
26
27
28
29
30
...
...
40